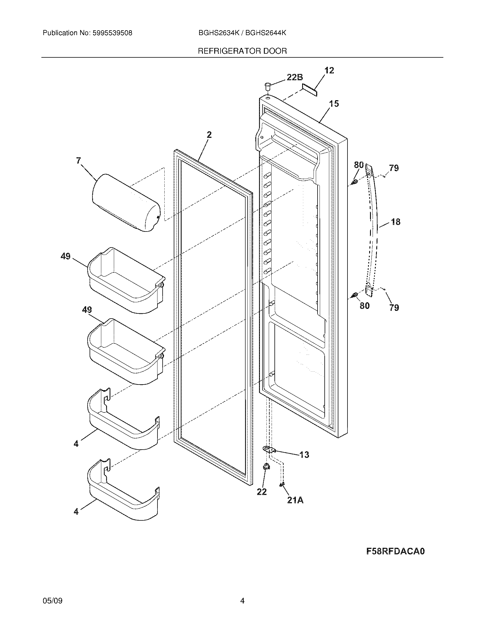
BGHS2644KF0 05 – REFRIGERATOR DOORadmin2025-04-26T08:48:55+00:00BGHS2644KF0 05 – REFRIGERATOR DOOR ProductsPositionProductNI5304467131 Frigidaire Refrigerator Wrench2241786013 Frigidaire Refrigerator Door Gasket4240323002 Frigidaire Bottom Clear Door Bin7WCI 24032620312242015201 Frigidaire Nameplate13241942603 Frigidaire Refrigerator Stop-Door/Ff Black15WCI 24183726018241930101 Frigidaire Refrigerator Door Handle Stainless Steel (for Freezer or Fresh Food Section)21A240442708 Frigidaire Refrigerator Screw-#10-32 X 3/422241990301 Frigidaire Hinge Bearing22B241760403 Frigidaire Refrigerator Bearing49240356402 Frigidaire Refrigerator Gallon Door Bin79218755402 Frigidaire Refrigerator Set Screw80218755504 Frigidaire Refrigerator Shoulder Screw