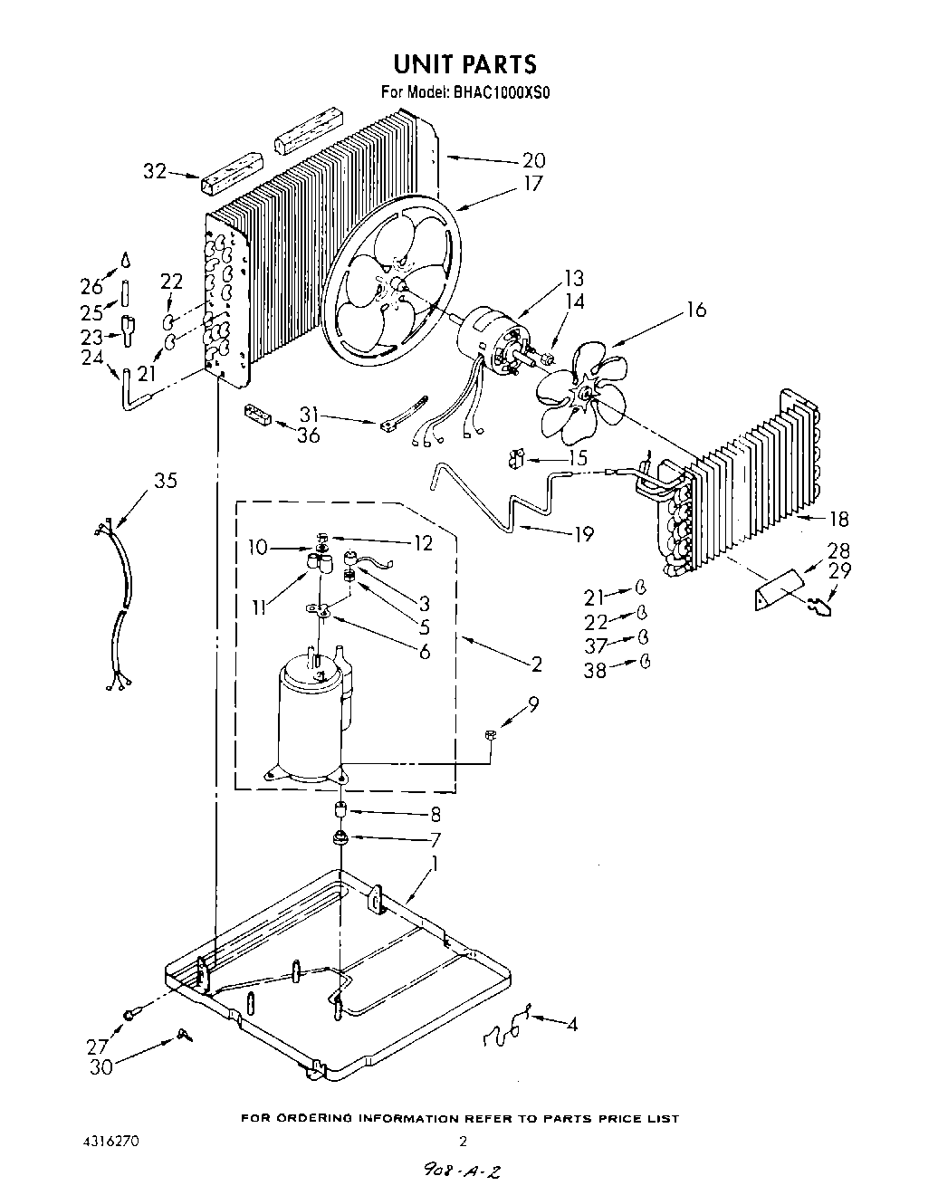
BHAC1000XS0 02 – UNIT