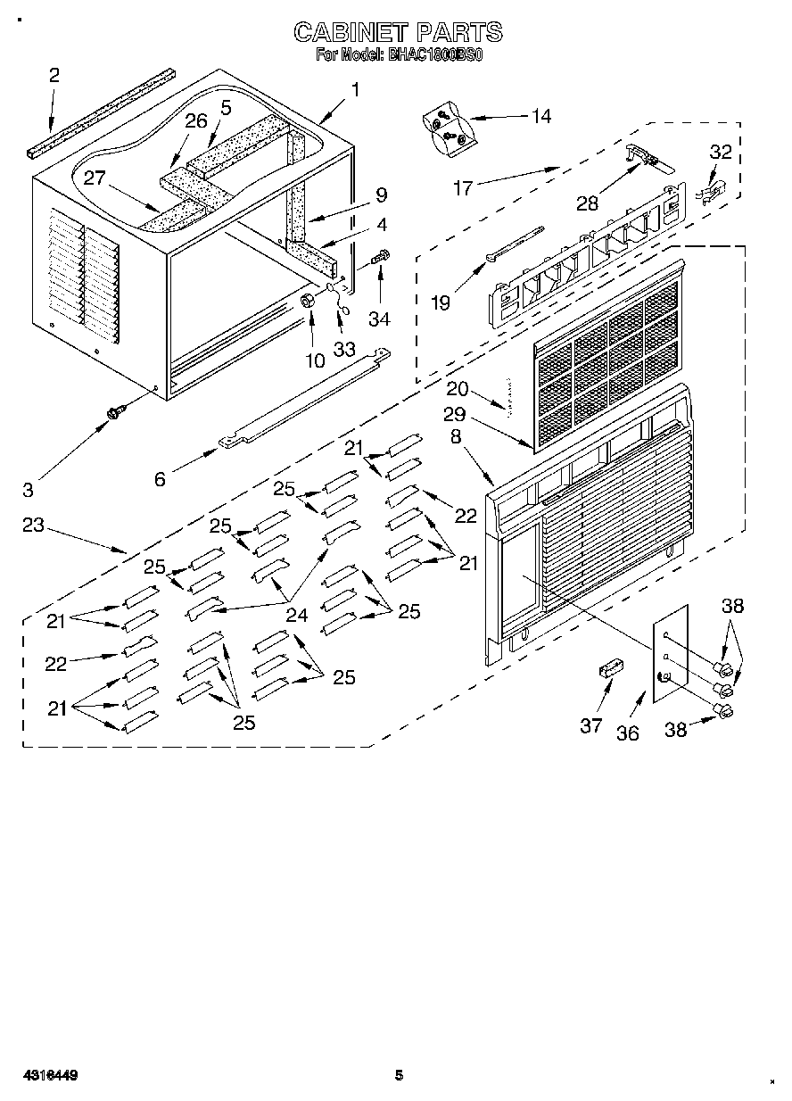
BHAC1800BS0 03 – CABINET