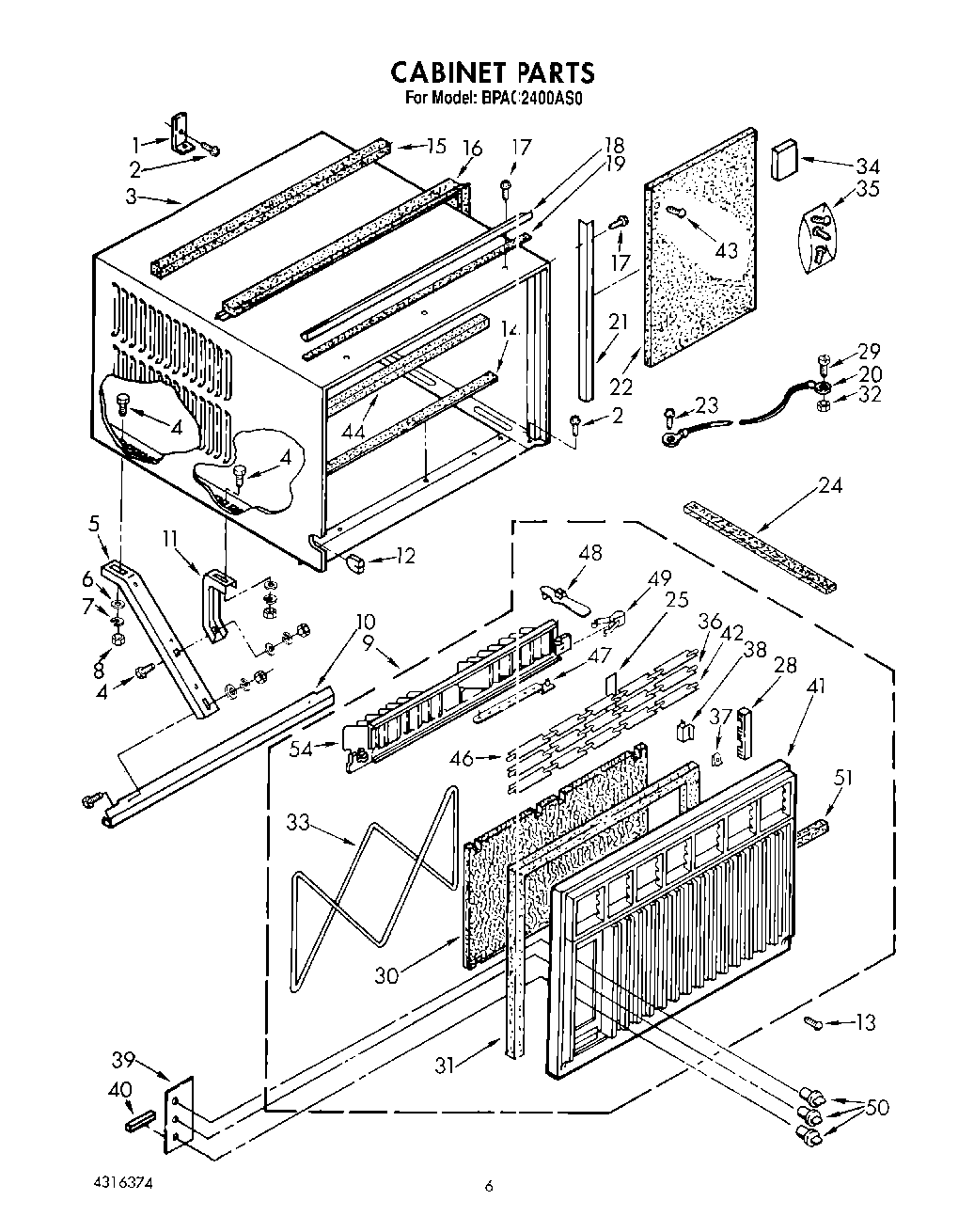
| 1 | Bracket |
| 2 | Screw (Window Lock Bracket) |
| 3 | Cabinet |
| 4 | Bolt, 1/4 x 3/4 (6) |
| 5 | Support, Cabinet (2) |
| 6 | WP120393 Whirlpool Washer Assembly |
| 7 | Lockwasher (6) |
| 8 | Nut, Hex (6) |
| 9 | Front, Cabinet (Assembly) |
| 10 | Bracket, Support |
| 11 | Support, Retainer (2) |
| 12 | Grommet, Appliance Cable |
| 13 | Screw (2) |
| 14 | Seal, Bottom |
| 15 | Gasket, Meeting Rail |
| 16 | Gasket, Sash |
| 17 | WP308685 Whirlpool Microwave Screw |
| 18 | Angle, Top Mounting |
| 19 | Strip, Seal |
| 20 | Wire, Ground |
| 21 | Angle (2) |
| 22 | Board, Filler |
| 23 | Screw, 8 x 3/8 |
| 24 | Seal |
| 25 | Retainer (4) |
| 28 | Rack, Louver (2) |
| 29 | Screw, 8 x 3/8 |
| 30 | Filter, Air |
| 31 | Seal, Front (Top & Sides) |
| 32 | WP486255 Whirlpool Air Conditioner Nut |
| 33 | Retainer, Filter |
| 34 | Spacer, Block (4) |
| 35 | Bag, Accessory |
| 36 | Louver, Horizontal (Handle) |
| 37 | Clip, Cabinet Front (2) |
| 38 | Clip, Retainer (4) |
| 39 | Plate, Escutcheon |
| 40 | Spacer, Escutcheon Plate (2) |
| 41 | Front, Cabinet |
| 42 | Louver, Horizontal (Relieved) |
| 43 | WP965173 Whirlpool Dishwasher Screw |
| 44 | Seal, Cabinet (Top) |
| 44 | Seal, Cabinet (Right Side) |
| 44 | Seal, Cabinet (Left Side) |
| 46 | Louver, Horizontal (4) |
| 47 | Link, Vertical Louver (2) |
| 48 | Handle, Vertical Louver (2) |
| 49 | Detent Spring (2) |
| 50 | Knob, Control (2) |
| 51 | Seal, Front (Bottom) |
| 54 | Louver, Vertical |