| WPL LIT1167573 |
| WPL LIT1168183 |
| WPL LIT1169993 |
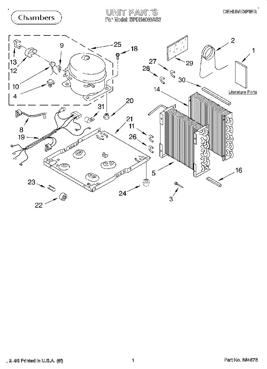
| 2 | Tube, Restrictor (36.0`` Length) |
| 3 | WP1162526 Whirlpool Air Conditioner Strainer |
| 4 | Relay |
| 5 | WPL 1167544 |
| 8 | WPL 1167574 |
| 9 | Spring, Overload |
| 10 | Overload |
| 11 | Bend, Return Condenser (4) |
| 12 | Cover, Terminal |
| 13 | Retainer, Cover |
| 14 | WPL 1168186 |
| 16 | Seal |
| 18 | Bolt, 1/4-28 x 1`` (4) |
| 19 | WPL 1167561 |
| 20 | 876811 Whirlpool Grommet |
| 21 | Base |
| 22 | Roller (2) |
| 23 | Pin, Roller (2) |
| 24 | Glide (2) |
| 25 | Compressor (Complete Assembly) |
| 26 | Bend, Return Condenser (10) |
| 27 | Bend, Return Evaporator (11) |
| 28 | Bend, Return Evaporator (4) |
| 29 | WPL 1162650 |
| 30 | Seal, Evaporator Top |
| 31 | Relief, Strain |
| 31 | PTC Clamp |
| 31 | PTC Start Device |
| 31 | Wire Assy. (2) |
| 31 | WP489069 Whirlpool Compactor Screw |