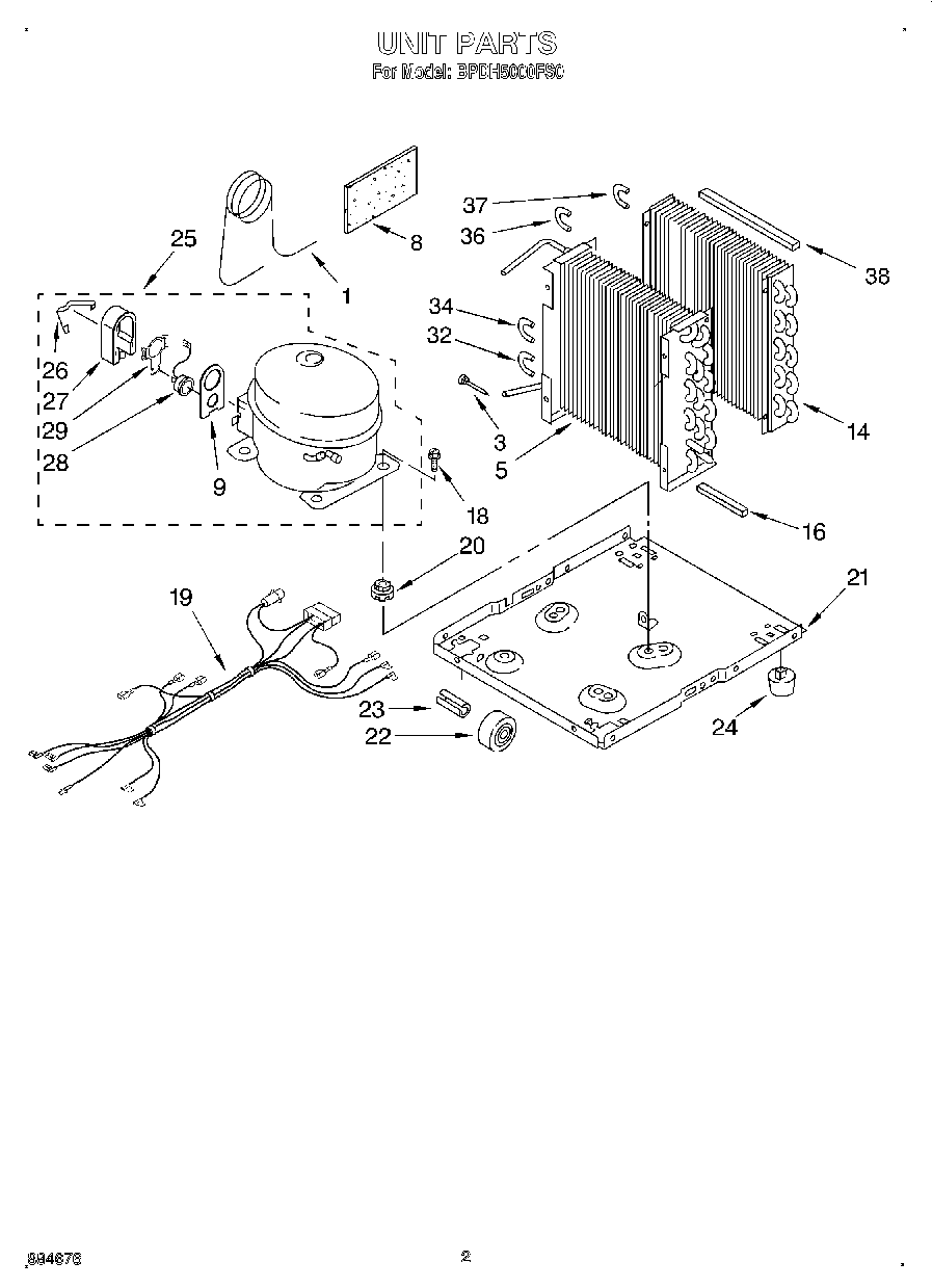
| 1 | Tube, Restrictor (36.0`` Length) |
| 3 | WP1162526 Whirlpool Air Conditioner Strainer |
| 5 | WPL 1167544 |
| 8 | WPL 1162650 |
| 9 | WPL 1167017 |
| 14 | WPL 1168184 |
| 16 | Seal |
| 18 | Bolt, 1/4-28 x 1`` (4) |
| 19 | WPL 1167026 |
| 20 | 876811 Whirlpool Grommet |
| 21 | Base |
| 22 | Roller (2) |
| 23 | Pin, Roller (2) |
| 24 | Glide (2) |
| 25 | WPL 1167003 |
| 26 | WPL 1167006 |
| 27 | WPL 1167005 |
| 28 | WPL 1167004 |
| 29 | WPL 1167008 |
| 32 | Bend, Return Condenser (10) |
| 34 | Bend, Return Condenser (4) |
| 36 | Bend, Return Evaporator (11) |
| 37 | Bend, Return (1) |
| 38 | Seal, Evaporator Top |