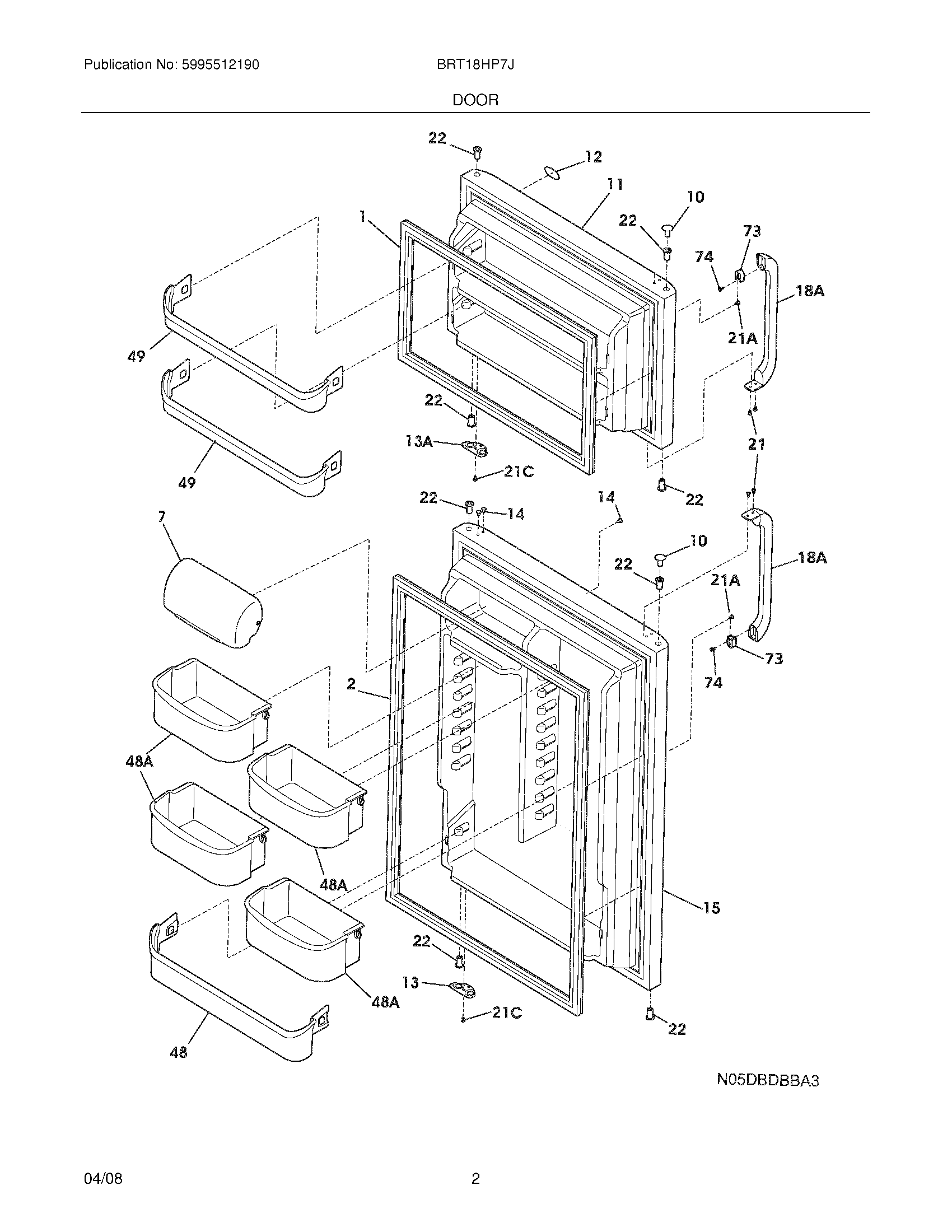
BRT18HP7JW1 03 – DOOR