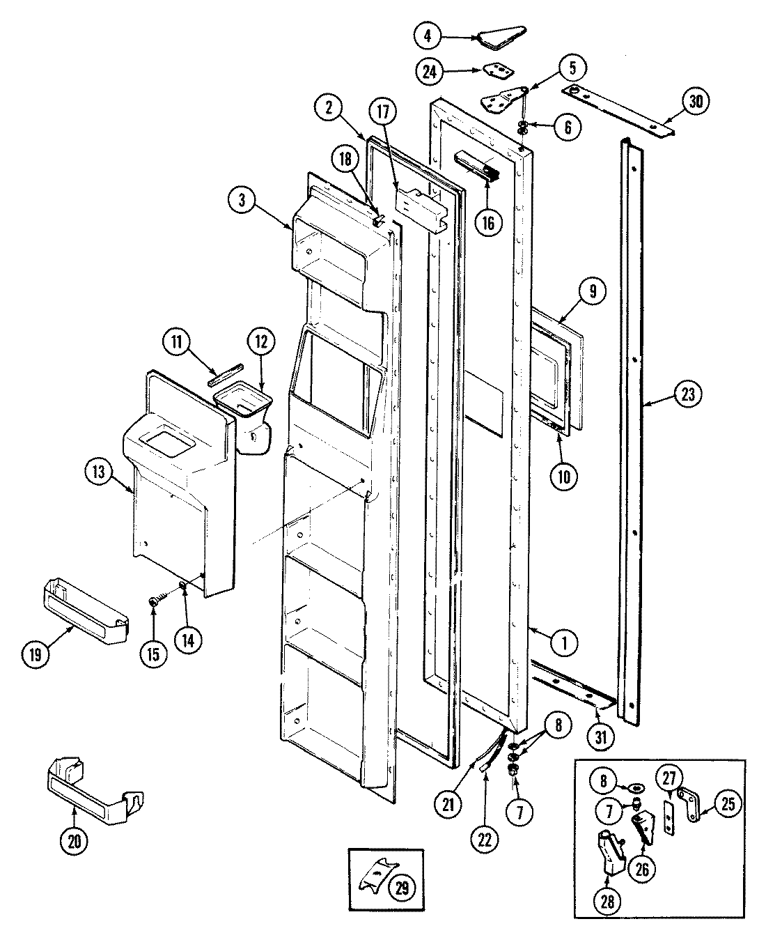
BS24X9DB 02 – FREEZER DOORadmin2025-04-26T10:37:27+00:00BS24X9DB 02 – FREEZER DOOR ProductsPositionProduct1MAY 72346-27-BK2MAY 70024-103MAY 69254-13MAY 65275-53MAY 68784-84MAY 70121-65MAY 65275-525MAY 53709-166WP52185-1 Whirlpool Refrigerator Washer7MAY 68976-1867483-3 Whirlpool Refrigerator Door Spacer Washer9MAY 68594-710MAY 95121-111MAY 52077-2612MAY 69224-113MAY 69225-113MAY 68768-213MAY 68770-114MAY 68786-215MAY 400021-10316MAY 69258-116WP489478 Whirlpool Refrigerator Screw17MAY 52613-118MAY 69261-119MAY 69873-920MAY 69870-921MAY 67187-122MAY 69865-923MAY 69632-123MAY 65275-3724MAY 65031-125MAY 65275-5925MAY 67874-126MAY 65275-5126MAY 69516-127MAY 69516-328MAY 68978-129MAY 66723-130MAY 69631-430MAY 69631-131MAY 66799-131MAY 69631-531MAY 65275-47