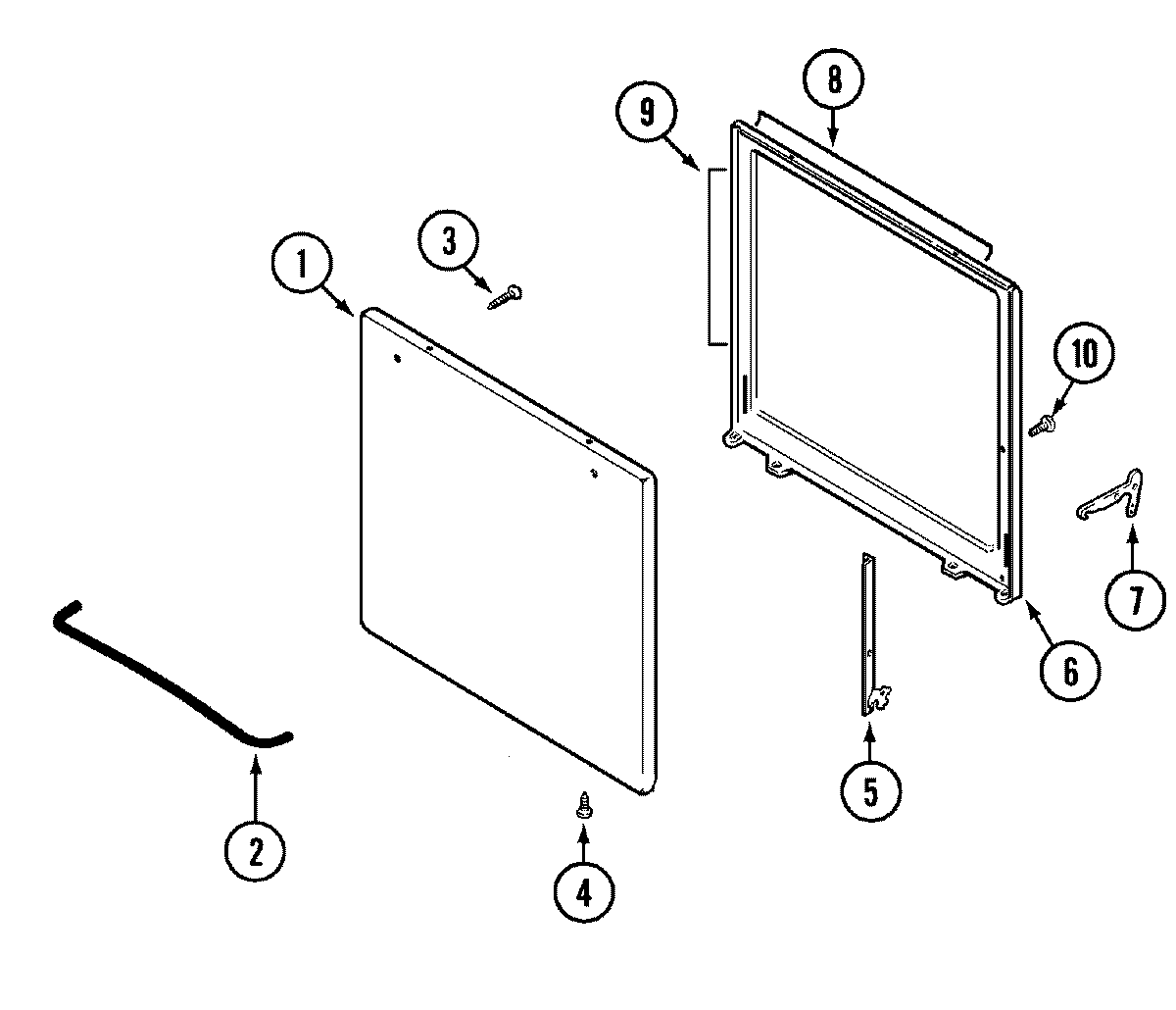
BT22RK-4T 01 – DOOR