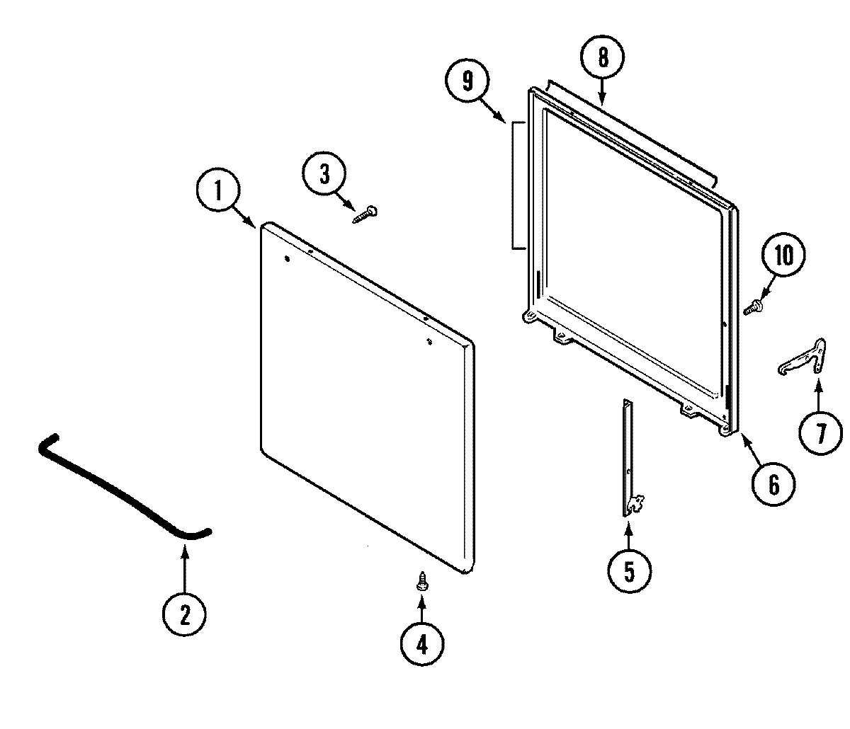
BT22RN-4T 01 – DOORadmin2025-04-26T08:39:19+00:00BT22RN-4T 01 – DOOR ProductsPositionProduct1MAY 2401F075-712MAY 7701P092-603SCREW (10-24X5/16-NI)4SCREW5MAY 3418D091-345MAY 3418D092-346MAY 2402F123-197MAY 3423F001-348MAY 2418F001-608MAY 2207F015-509MAY 2207F014-509MAY 2418F004-6010WP74003976 Whirlpool Screw