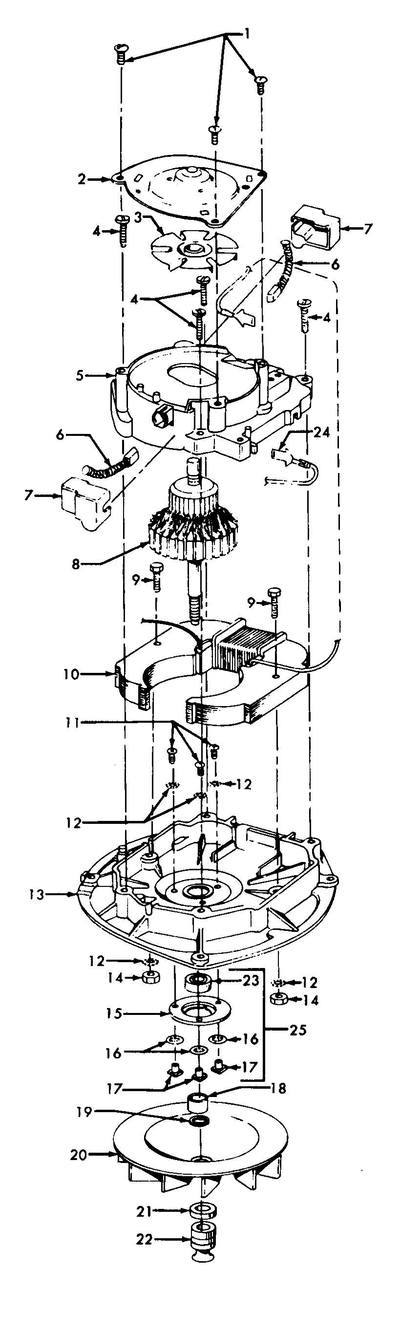
C1121— 04 – MOTOR ASSEMBLYadmin2025-04-26T08:44:10+00:00C1121— 04 – MOTOR ASSEMBLY ProductsPositionProduct1MAY 45533AY2MAY 429340023MAY 387550054MAY 161535--5MAY 421950036MAY 473180127MAY 363150038MAY 447680439MAY 045118--10MAY 4541201511MAY 2177250112MAY 014062-13MAY 4219300614MAY 015673--15MAY 3218400316MAY 019772-17MAY 045251--18MAY 3173100219MAY 166563--20MAY 3875501121MAY 3116200422MAY 3853200923MAY 2415280724MAY 014320--25MAY 43267006