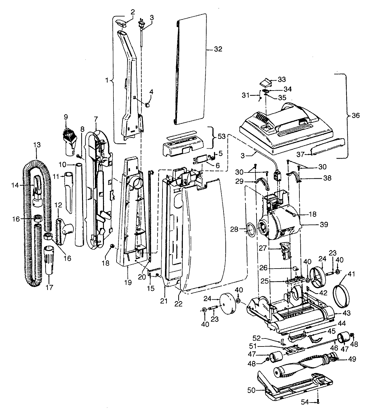
C1414900 02 – MAINBODY, HANDLE, OUTERBAGadmin2025-04-26T08:44:22+00:00C1414900 02 – MAINBODY, HANDLE, OUTERBAG ProductsPositionProductNIMAY 40201151NIMAY 56511B371MAY 486631582MAY 379110793MAY 463680054MAY 379110615MAY 383550086MAY 361510067MAY 414260868MAY 214472209MAY 4341414510MAY 3863407811MAY 3861702412MAY 3861402913MAY 4343423214MAY 3865603515MAY 3642508116MAY 3611601417MAY 3228801118MAY 4020108519MAY 3946400520MAY 3845603621MAY 3725406822MAY 3725730323MAY 3153100824MAY 3852201125MAY 3856700826MAY 3842107027MAY 3845802228MAY 3878401629MAY 3613105730MAY 2144721731MAY 3835101332MAY 4010001A32MAY 4366703433MAY 3725725735NOT REQUIRED PART OR SEE NOTE FUSE (NOT REQUIRED)36MAY 42252B4237MAY 3724613038MAY 3613109039MAY 4357620140MAY 2131278741MAY 3852804042MAY 13261AY-43MAY 4224300244MAY 3856301147MAY 4324805448MAY 3613105649MAY 4841407550MAY 3724501751MAY 4324805952MAY 3457200253MAY 3795910554MAY 21447121