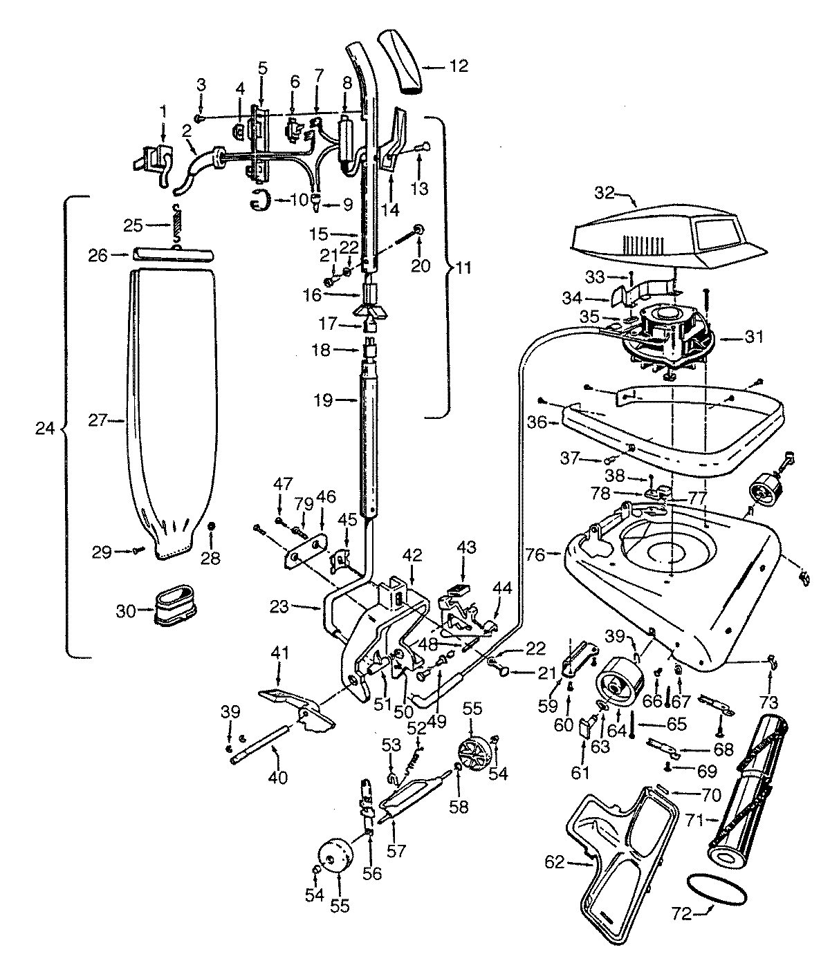
C1425— 01 – AGITATOR, HANDLE, MAINBODY, OUTERBAGadmin2025-04-26T08:44:26+00:00C1425— 01 – AGITATOR, HANDLE, MAINBODY, OUTERBAG ProductsPositionProductNINOT REQUIRED PART OR SEE NOTE FUSE (NOT REQUIRED)NIMAY 56711134NIMAY 56711136NIMAY 58343025NIMAY 583660121MAY 463831932MAY 362160023MAY 214653144MAY 384210125MAY 372581106MAY 281770KD7MAY 276667028MAY 372140709MAY 048969--10MAY 2747930711MAY 4864410612MAY 3945407013MAY 2125609414MAY 3944101615MAY 4864411416MAY 3691300717MAY 4715500518MAY 4632103319MAY 3228402320MAY 2163130121MAY 3227702122MAY 013704--23MAY 3172802224MAY 4367517025MAY 3833601926MAY 4112801127MAY 4367422128MAY 015854EF29MAY 2176515930MAY 4142401131MAY 4357419332MAY 4225132533MAY 2144722034MAY 3428701235MAY 4111900936MAY 3623104237MAY 3224200439MAY 013730--40MAY 161509AY41MAY 3845205142MAY 4141607243MAY 3842608044MAY 4313704745MAY 3546301146MAY 3795400147MAY 2148127348MAY 047450AY49MAY 011735--50MAY 048409FW51MAY 019907--52MAY 161513--53MAY 3425200554MAY 3218200155MAY 3852101956MAY 4326300357MAY 4143101358MAY 2131280659MAY 3543404061MAY 047457AY62MAY 3724508163MAY 2131272464MAY 34791AG-65MAY 2144702066MAY 048422-67MAY 2131278168MAY 3615300669MAY 2144722970MAY 3411100171MAY 4143507071MAY 4326700271MAY 4841402171MAY 3272400871MAY 48495AY-71MAY 12985AY-71MAY 4844500171MAY 2134700372MAY 44783AG-73MAY 3478402176MAY 4224226977MAY 012559FW78MAY 3466500779MAY 21631302