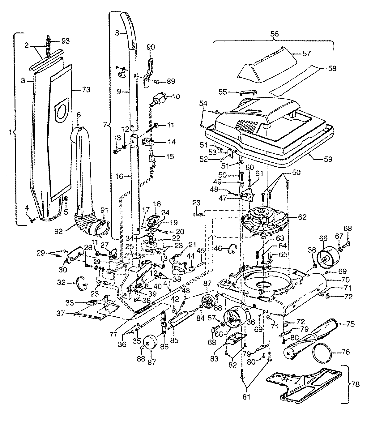
C1632— 01 – AGITATOR, HANDLE, MAINBODY, OUTERBAG

C1632— 01 – AGITATOR, HANDLE, MAINBODY, OUTERBAG