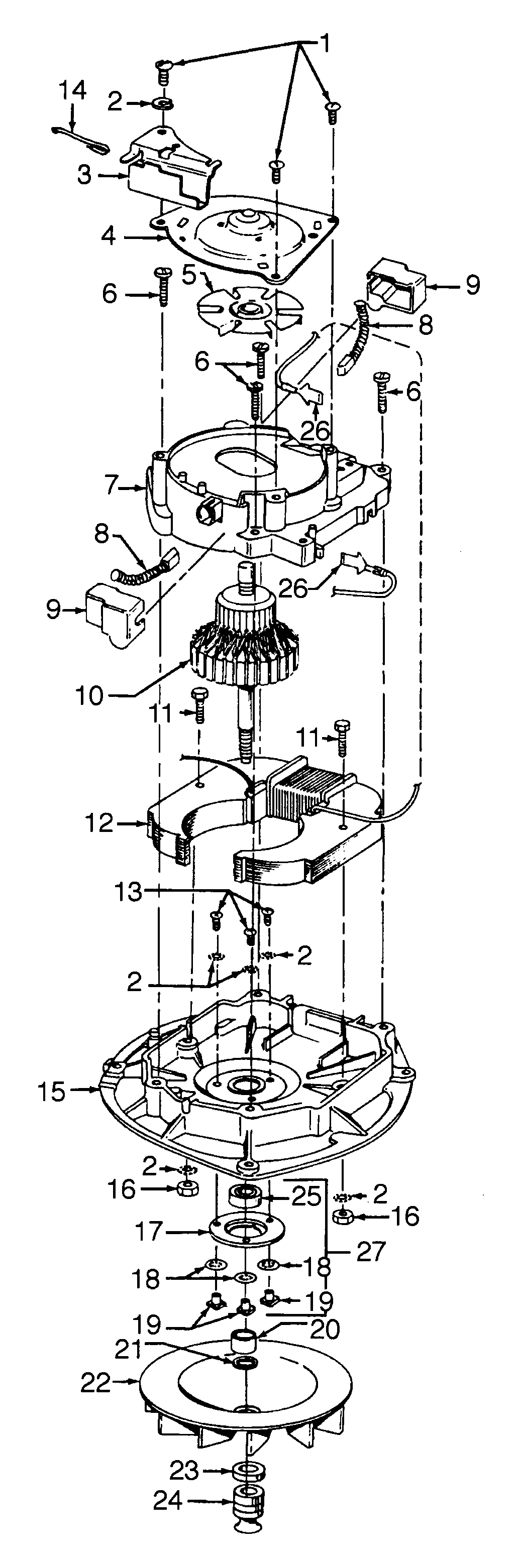
C1634— 02 – MOTOR ASSEMBLYadmin2025-04-26T10:37:37+00:00C1634— 02 – MOTOR ASSEMBLY ProductsPositionProduct1MAY 45533AY2MAY 014062-3MAY 419610094MAY 429340025MAY 387550056MAY 161535--7MAY 421950038MAY 473180129MAY 3631500310MAY 4476804311MAY 045118--12MAY 4541201513MAY 2177250114MAY 3527600615MAY 4219300616MAY 015673--17MAY 3218400318MAY 019772-19MAY 045251--20MAY 3173100221MAY 166563--22MAY 3875501123MAY 3116200424MAY 3853200925MAY 2415280726MAY 014320--27MAY 43267006