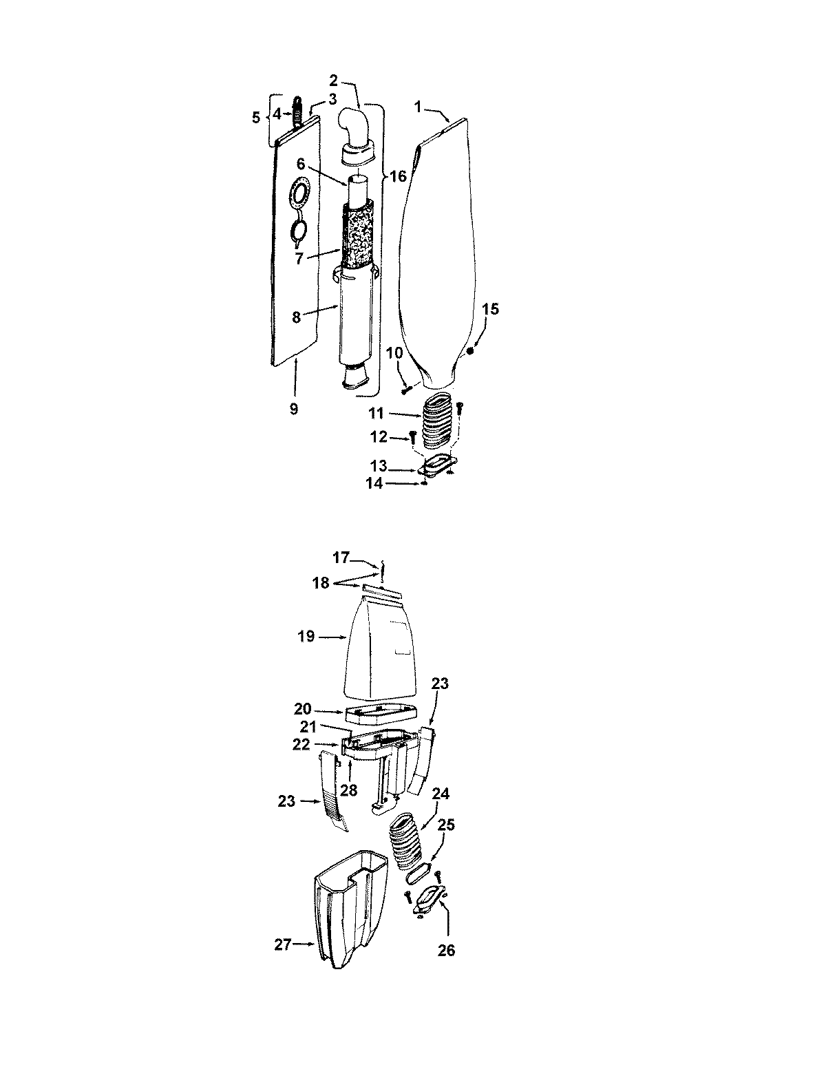
C1805— 02 – DIRTCUP, BAGASSEMBLY, OUTERBAGadmin2025-04-26T10:39:13+00:00C1805— 02 – DIRTCUP, BAGASSEMBLY, OUTERBAG ProductsPositionProduct1MAY 436783511MAY 436742252MAY 386570123MAY 364250266MAY 317460207MAY 341330058MAY 372570839MAY 436670549MAY 4010100A9MAY 4010001A11MAY 3867301012MAY 3611200213MAY 3642500514MAY 013759--16MAY 4225601217MAY 3833601918MAY 4112801619MAY 4366705720MAY 3517300121MAY 3411201522MAY 4142701223MAY 3615501124MAY 3867300125MAY 049044--25MAY 017206--25MAY 015854EF26MAY 4142401827MAY 3877500128MAY 34123020