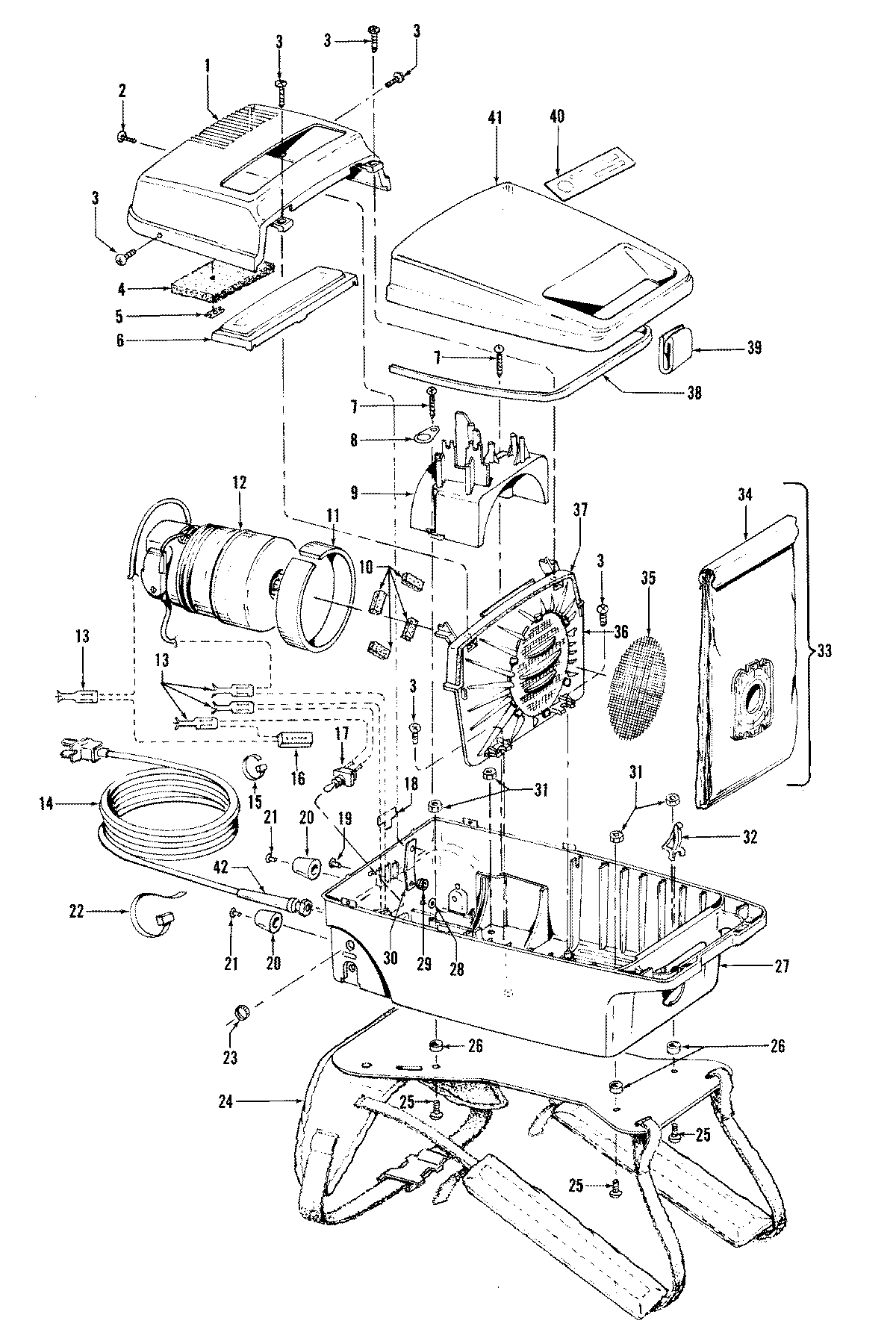
C2075080 01 – CLEANINGTOOLS, MAINBODY, OUTERBAGadmin2025-04-26T10:39:16+00:00C2075080 01 – CLEANINGTOOLS, MAINBODY, OUTERBAG ProductsPositionProductNIMAY 43414073NIMAY 43434013NIMAY 4341401PNIMAY 38617017NIMAY 43414057NIMAY 56711141NIMAY 43453027NIMAY 434140641MAY 371950892MAY 214294063MAY 214470414MAY 341630035MAY 213660046MAY 422190067MAY 214470728MAY 045517--9MAY 3632101210MAY 3413201511MAY 3414300312MAY 4357805113MAY 012227--14MAY 4638319316MAY 4753401817MAY 2812800219NOT REQUIRED PART OR SEE NOTE FUSE (NOT REQUIRED)20MAY 3841105521MAY 2128800822MAY 2747930723MAY 012560--24MAY 4861501425MAY 2177259826MAY 2132807927MAY 4221400628MAY 2131271029MAY 2131270430MAY 3613104631MAY 2185410332MAY 3615101533MAY 4366200234MAY 3642507735MAY 3111401036MAY 3642601437MAY 3413300738MAY 3878101039MAY 3945100740MAY 5212514541MAY 4221211842MAY 36216002