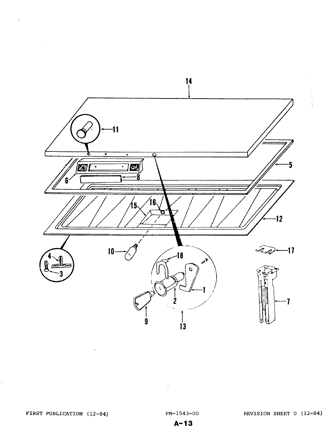
C25ACLWH 01 – DOORadmin2025-04-26T10:39:24+00:00C25ACLWH 01 – DOOR ProductsPositionProduct1MAY 048417-012MAY 048417-023MAY 046352-014MAY 047536-015MAY 045242-026MAY 046459-017MAY 047137-04-WW7MAY 042803-017MAY 042236-018MAY 046292-178MAY 049338-048MAY 046292-169MAY 048417-0310MAY Y0406720111MAY 045112-0112MAY 045646-0513MAY 048416-0114MAY 046241-06-WW14MAY 046686-0115MAY 045110-0116MAY 045111-0117MAY Y0466440117MAY 044156-0117MAY Y0463730217MAY 043387-0117MAY 045031-0118MAY 049368-0118MAY 048417-04