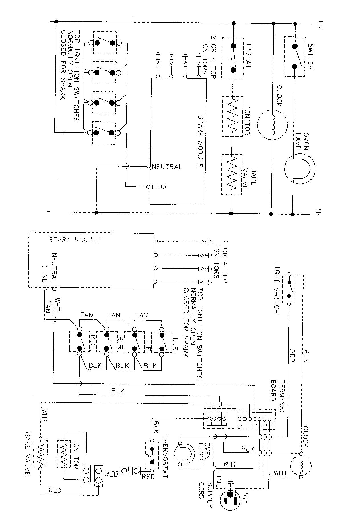
C31113WAAP 07 – WIRING INFORMATIONadmin2025-04-26T09:05:33+00:00C31113WAAP 07 – WIRING INFORMATION ProductsPositionProductNIMAY 15001767