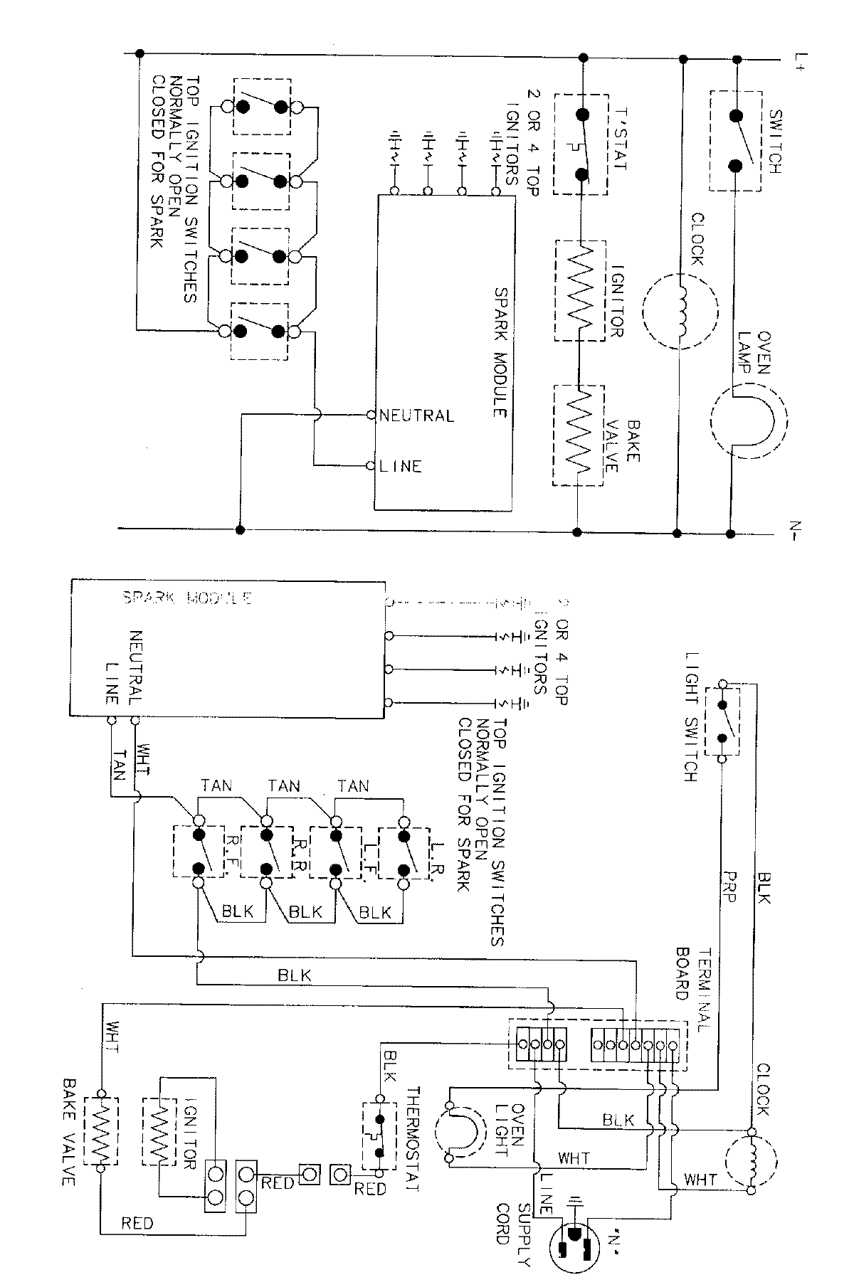
C31113WAVP 07 – WIRING INFORMATIONadmin2025-04-26T09:05:12+00:00C31113WAVP 07 – WIRING INFORMATION ProductsPositionProductNIMAY 15001767