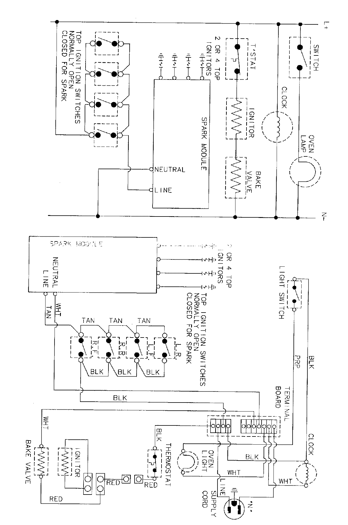
C31315VAM 07 – WIRING INFORMATIONadmin2025-04-26T09:05:56+00:00C31315VAM 07 – WIRING INFORMATION ProductsPositionProductNIMAY 15001767