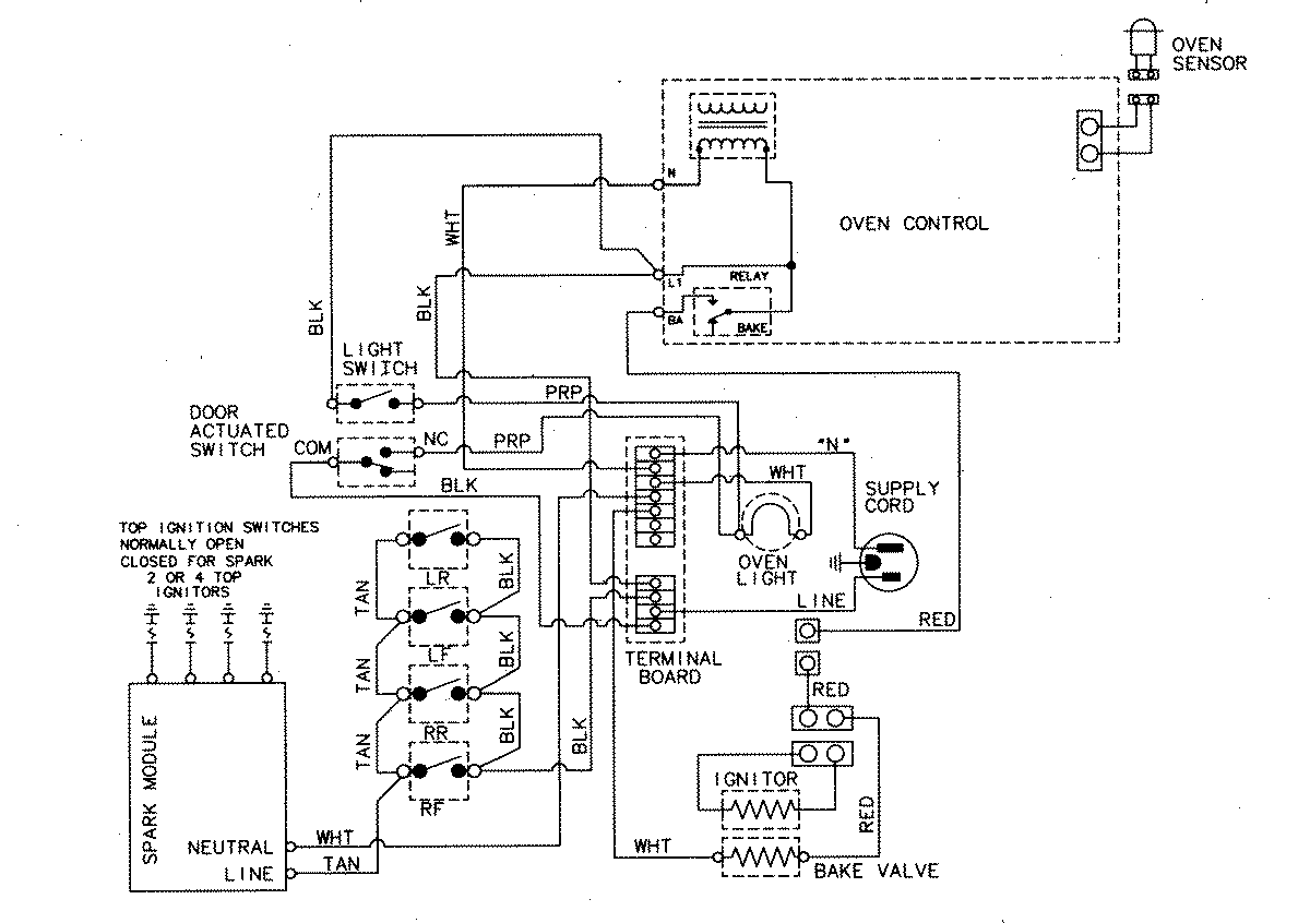
C31315VBV 07 – WIRING INFORMATIONadmin2025-04-26T09:04:02+00:00C31315VBV 07 – WIRING INFORMATION ProductsPositionProductNIMAY 15002211NIMAY 15002639