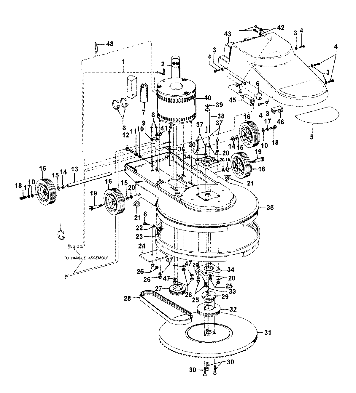
C5037— 01 – MAINBODY, MOTOR, GEARSadmin2025-04-26T09:04:39+00:00C5037— 01 – MAINBODY, MOTOR, GEARS ProductsPositionProductNIMAY 59131355NIMAY 21765501NIMAY 58369056NIMAY 58351024NIMAY 58347008NIMAY 58219015NIMAY 58219014NIMAY 56518054NIMAY 171153--NIMAY 171152--NIMAY 171151--NIMAY 171150--1MAY 461550132MAY 286420923MAY 213128014MAY 214472075MAY 516640166MAY 1539143-7MAY 286420938MAY 214472089MAY 2747861110MAY 2131279811MAY 1107628-12MAY 2181102613MAY 3156500614MAY 2131280015MAY 2134700216MAY 4324702417MAY 1107627-18MAY 2175100319MAY 2175100421MAY 2187210422MAY 2131279723MAY 3623504624MAY 3417502025MAY 2185420326MAY 2185420227MAY 3852401228MAY 3852802329MAY 2411800930MAY 2175100731MAY 4843702332MAY 3853600133MAY 6216100234MAY 2411336935MAY 3727207536MAY 164929--37MAY 2181101938MAY 3153401439MAY 2472116340MAY 4317401541MAY 014492--42MAY 1107647-43MAY 3727101945MAY 2812800946MAY 3414100647MAY 2131279948MAY 018972--