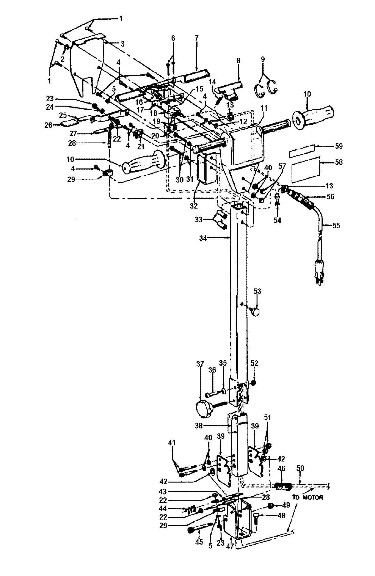
C5041— 02 – SWITCHadmin2025-04-26T09:05:18+00:00C5041— 02 – SWITCH ProductsPositionProductNIMAY 31721042NIMAY 213128121MAY 214472092MAY 213546013MAY 379440084MAY 214472075MAY 1107641-6MAY 217681277MAY 384580198MAY 384210469MAY 1539143-10MAY 3945405111MAY 3792303512MAY 164929--13MAY 2185301914MAY 3833300615MAY 3415400516MAY 3831400217MAY 3695702118MAY 2821804419MAY 1107699-20MAY 1307631-21MAY 2747861122MAY 1107602-23MAY 2178115424MAY 2131279625MAY 3845209626MAY 2569640527MAY 3425201528MAY 4321100829MAY 3617102930MAY 2181101831MAY 1107627-32MAY 3463800933MAY 3172202334MAY 4866313834MAY 4866315635MAY 2134700436MAY 2181102137MAY 2371810438MAY 4866315138MAY 4866314039MAY 3428703240MAY 2131279841MAY 2175100642MAY 2131251943MAY 3425201144MAY 3831402045MAY 2175100546MAY 3833502447MAY 3461802148MAY 2183102549MAY 2185420250MAY 4653500150MAY 4653500351MAY 2185410352MAY 2185100553MAY 3622201954MAY 018972--55MAY 4658315656MAY 2748214057MAY 2184615558MAY 5166300459MAY 5161501859MAY 5161501959MAY 51615020