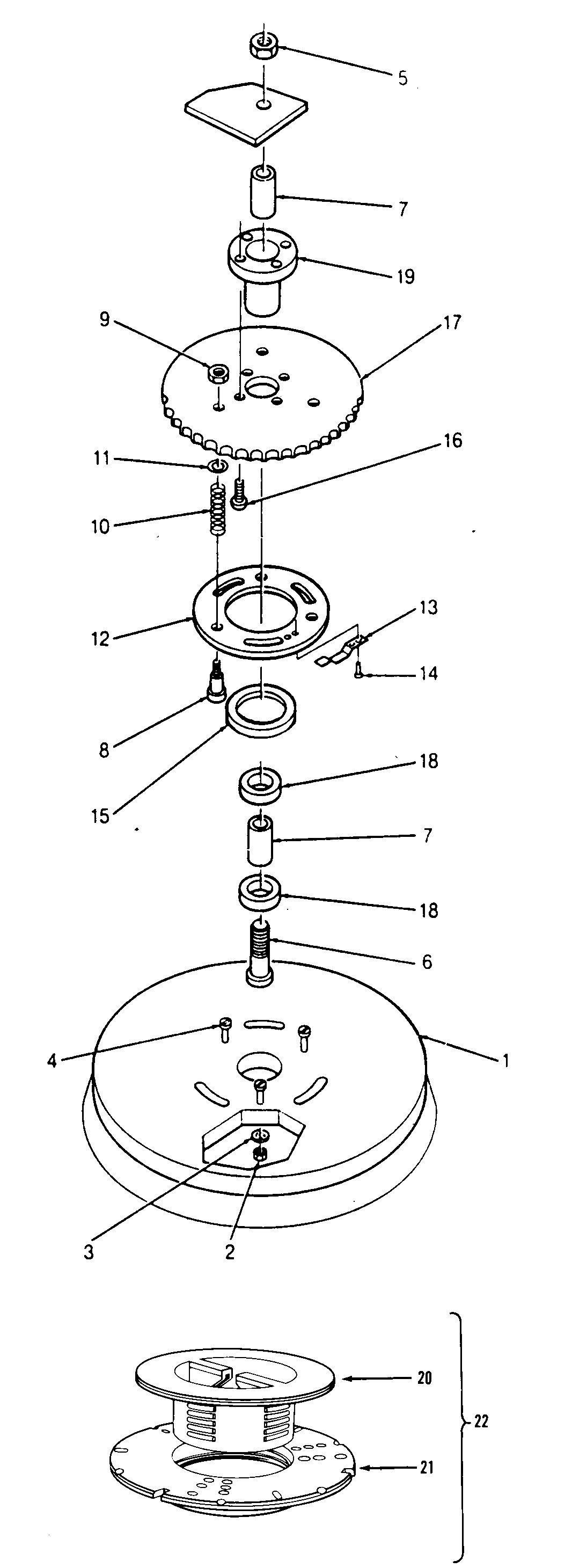
C6075— 02 – BRUSHASSEMBLY, ACCESSORIESadmin2025-04-26T09:05:21+00:00C6075— 02 – BRUSHASSEMBLY, ACCESSORIES ProductsPositionProduct1MAY 484360111MAY 591872361MAY 591872351MAY 484360181MAY 484360171MAY 484360161MAY 484360151MAY 484360141MAY 484360131MAY 484360122MAY 591870183MAY 591870504MAY 591870345MAY 591870316MAY 591871247MAY 591871258MAY 217510089MAY 5918700410MAY 3831400811MAY 5918705712MAY 4194200112MAY 4194200213MAY 3617204914MAY 2128600615MAY 3117803616MAY 5918703017MAY 3855100118MAY 5918710219MAY 5918720019MAY 5918721620MAY 171166--21MAY 171151--22MAY 59187195