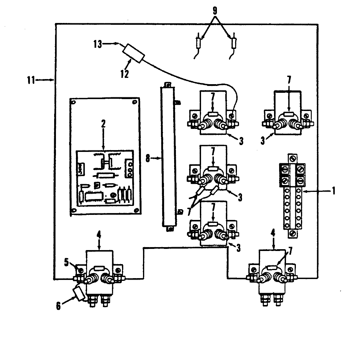
C6077— 08 – WIRINGDIAGRAMadmin2025-04-26T09:06:59+00:00C6077— 08 – WIRINGDIAGRAM ProductsPositionProduct1MAY 591872091MAY 591872372MAY 478530082MAY 591870593MAY 284520054MAY 284520045MAY 591870625MAY 591870615MAY 591870606MAY 591871587MAY 287220108MAY 285310139MAY 5918715911MAY 5918717912MAY 2782110313MAY 47534019