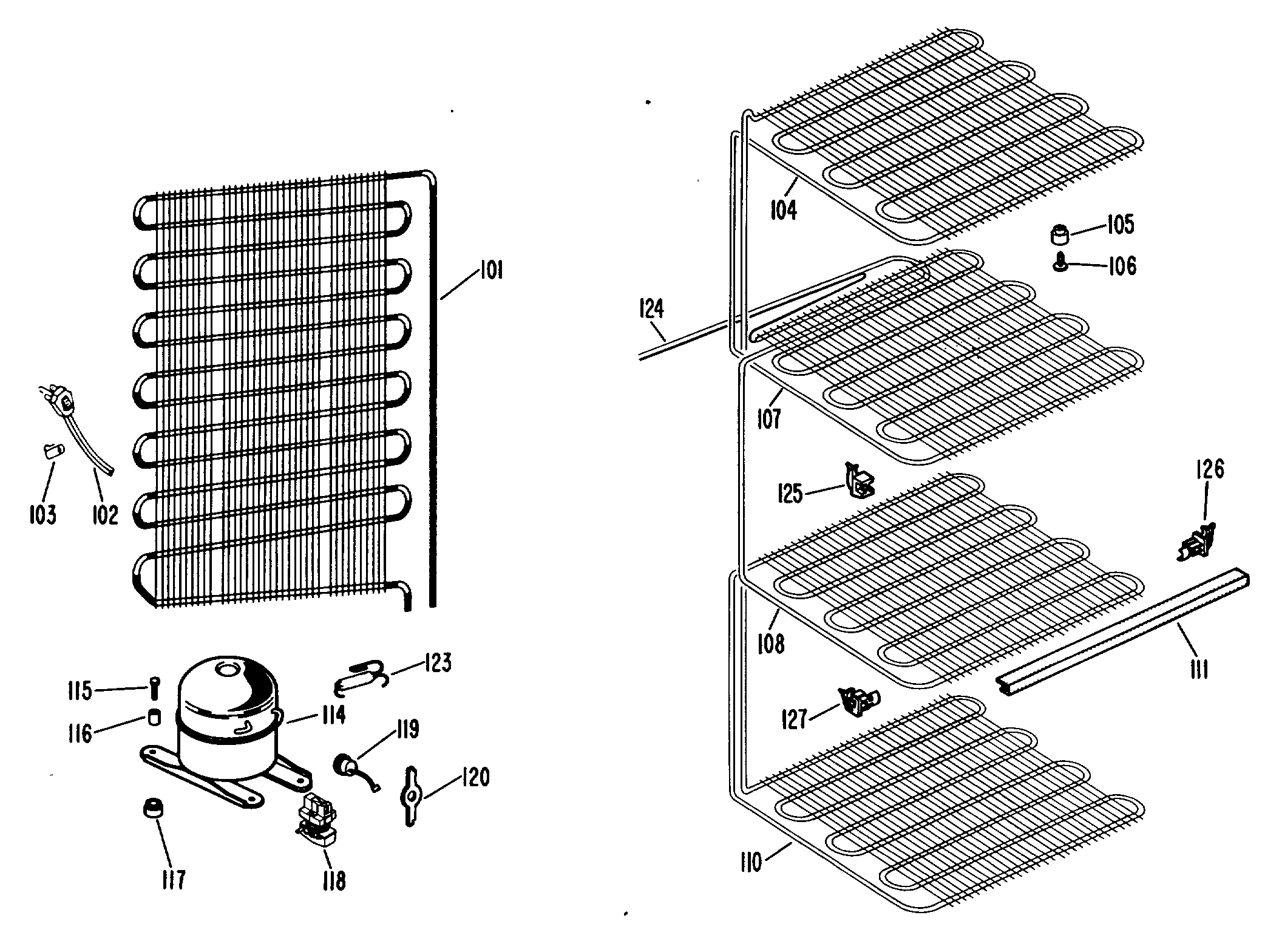
CA10DJB 2