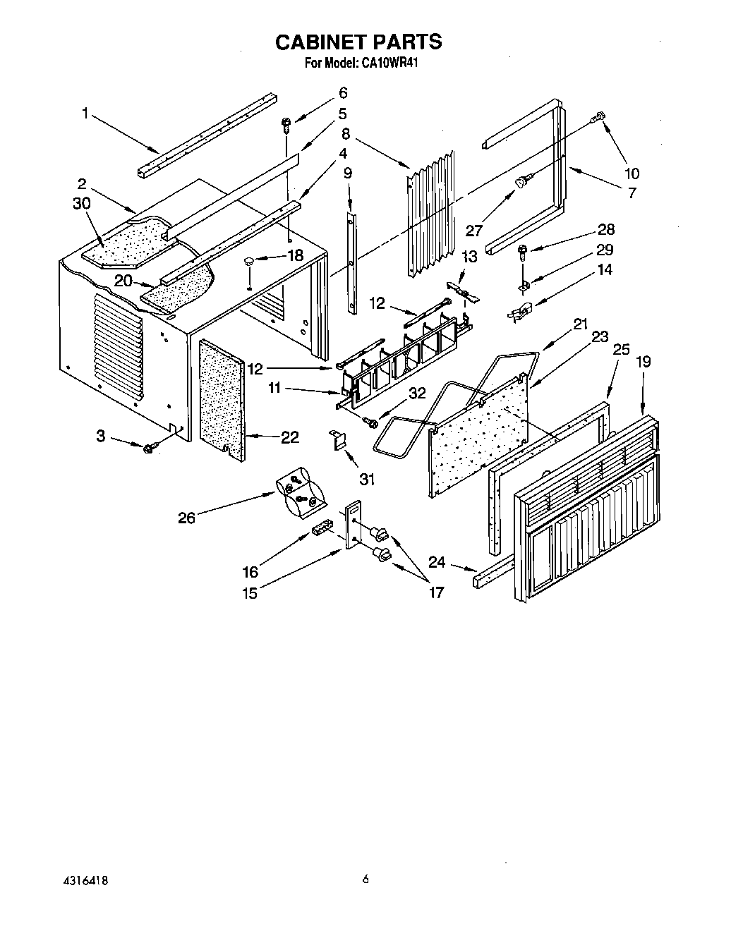
CA10WR41 04 – CABINET