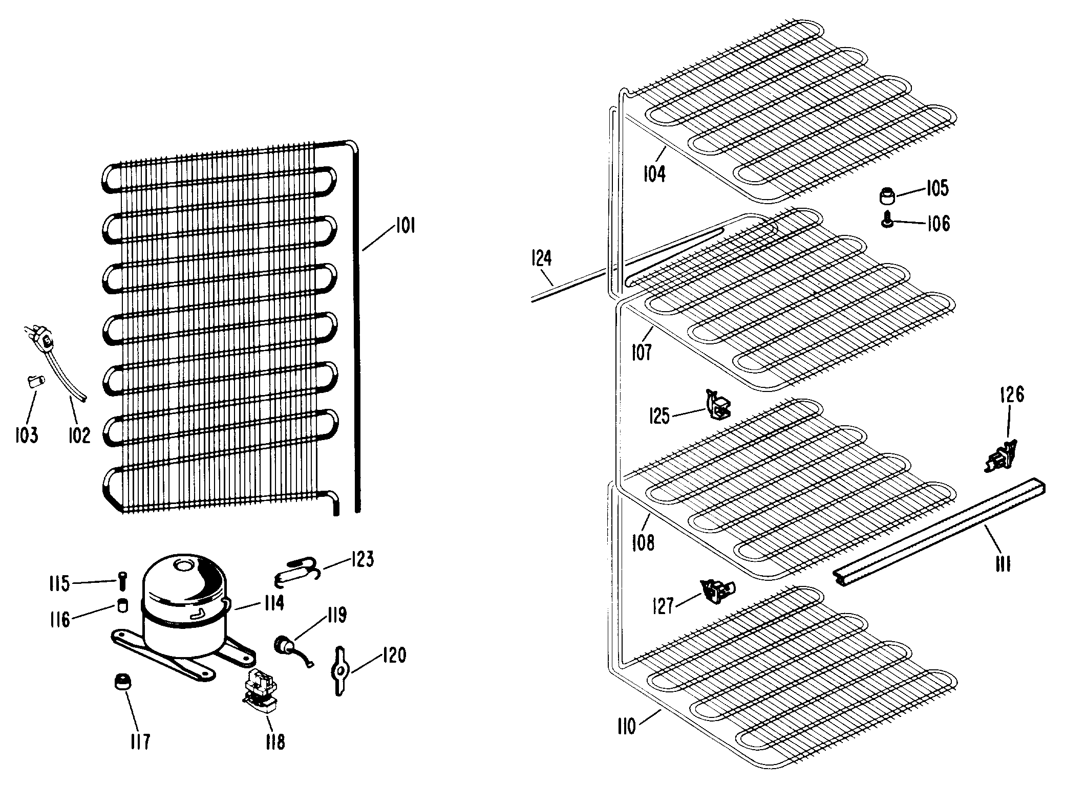
| 101 | EXTERNAL CONDENSER |
| 102 | WR23X10300 GE Refrigerator Power Cord Assembly |
| 103 | WR1X5278 GE Refrigerator Cable Clamp |
| 104 | GEN WR85X0090 |
| 105 | GROMMET-TOP FRONT |
| 105 | GROMMET-TOP REAR |
| 106 | SCREW-GROMMET |
| 107 | GEN WR85X0091 |
| 108 | GEN WR85X0147 |
| 110 | GEN WR85X0093 |
| 111 | GEN WR17X5912 |
| 114 | HI-SIDE |
| 114 | REFRIGERANT |
| 115 | SCREW-GROMMET |
| 116 | SLEEVE-SCREW |
| 117 | GROMMET |
| 119 | GEN WR08X5189 |
| 119 | COVER RELAY & GUARDETTE |
| 119 | GEN WR08X5170 |
| 119 | SPRING-GUARDETTE |
| 123 | WR86X25269 GE Refrigerator R134 Dryer |
| 124 | GEN WR86X0068 |
| 125 | SUPPORT-REAR |
| 126 | GEN WR02X7622 |
| 127 | GEN WR02X7621 |
| 127 | GEN 49-6510 |