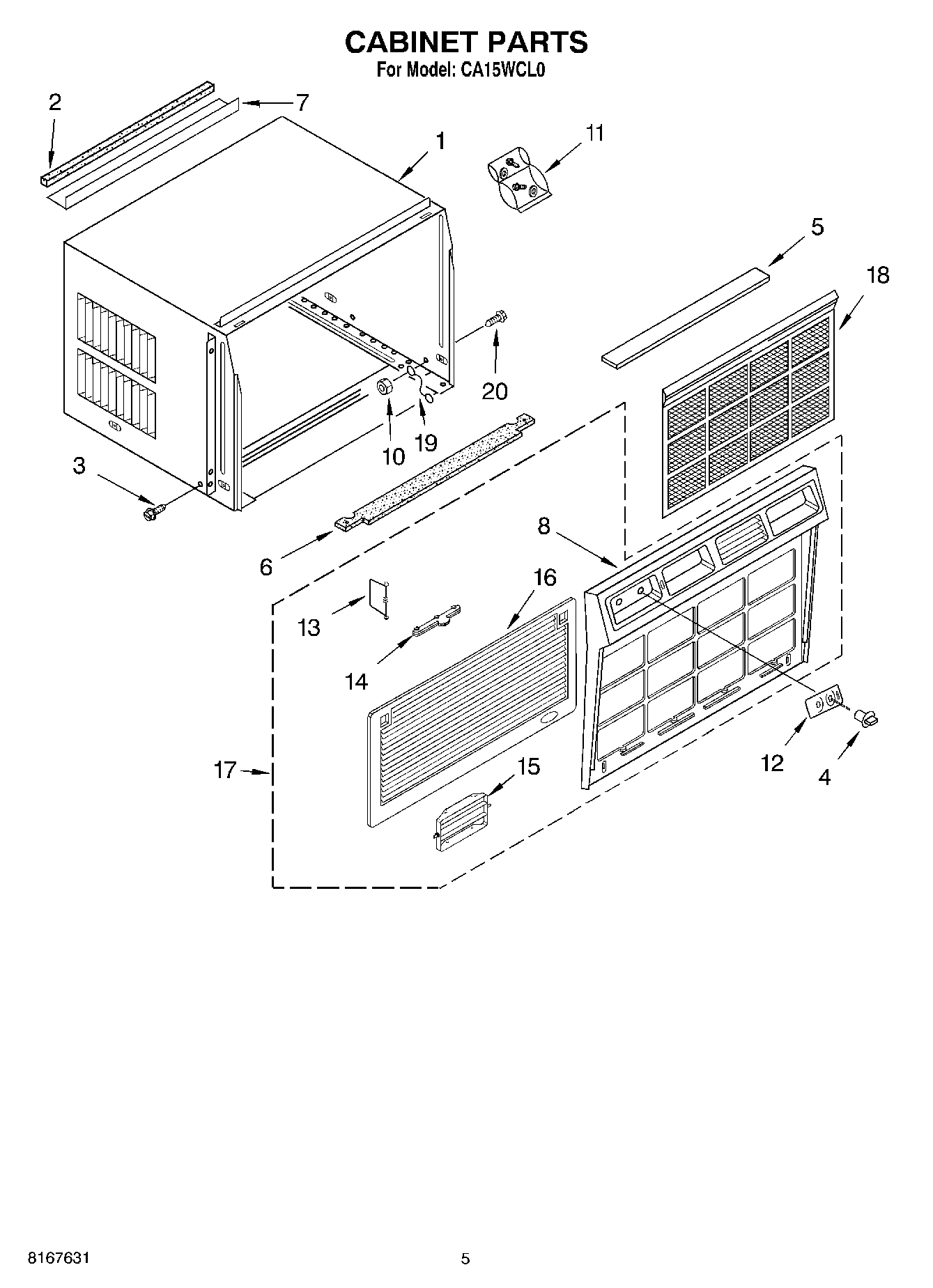
CA15WCL0 03 – CABINET