CA1752XYN0 01 – TOP AND CABINET, LIT/OPTIONALadmin2025-04-26T10:53:19+00:00CA1752XYN0 01 – TOP AND CABINET, LIT/OPTIONAL
Products
| Position | Product |
|---|
| 350930 Whirlpool White Spray Paint |
| Golden Harvest |
| Golden Harvest (Uncut) |
| Shipping Kit |
| LUBRICANT (USE ONLY IN BRAKE SHOE ASSEMBLY ON ROLLER & PIN) |
| WPL LIT3360614 |
| WP285195 Whirlpool Sealer Assembly |
| WPL LIT3353830 |
| WPL LIT3360109 |
| 72110 Whirlpool Dryer Touch-Up Paint, Golden Harvest 6 Oz |
| 350572 Whirlpool Oil Transmission 15 Oz |
| 799344 Whirlpool Refrigerator Paint |
| WP72107 Whirlpool Touchup |
| 350956 Whirlpool Spray Assembly |
| Leveler (Thinner) |
| Almond (Uncut) |
| 350938 Whirlpool Spray Gun |
| 72017 Whirlpool Appliance Touch-Up Paint White |
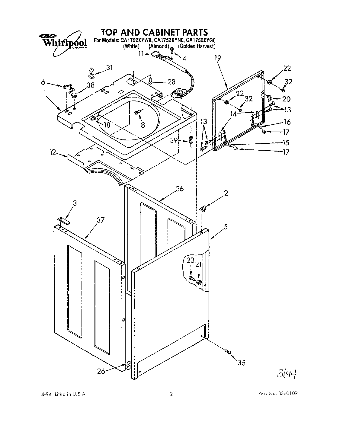
| 1 | Top (Golden Harvest) |
| 1 | Top (Almond) |
| 1 | Top (White) |
| 2 | WP18776 Whirlpool Lock |
| 3 | Spacer, Cabinet To Top (4) |
| 4 | SCREW |
| 5 | Panel, Front (White) |
| 5 | Panel, Front (Almond) |
| 5 | Panel, Front (For Golden Harvest Model) |
| 6 | Clip, Top & Cabinet & Rear Panel (2) |
| 8 | WP3356311 Whirlpool Screw |
| 11 | Switch, Lid |
| 12 | Shield, Lid Switch |
| 13 | SCREW |
| 14 | WP21097 Whirlpool Pad |
| 15 | WP54584 Whirlpool Hinge |
| 16 | WP91770 Whirlpool Hinge |
| 17 | Bumper, Lid Hinge |
| 18 | WP21258 Whirlpool Washer Lid Hinge Bearing |
| 19 | Lid (Almond) |
| 19 | Lid (Golden Harvest) |
| 19 | WPW10193854 Whirlpool Lid Assembly |
| 20 | WP358684 Whirlpool Strike Assembly |
| 21 | Locator (4) |
| 22 | BUMPER |
| 23 | WP9741232 Whirlpool Dishwasher Screw |
| 26 | WP98234 Whirlpool Nut |
| 28 | Screw (2) |
| 31 | WP90016 Whirlpool Clip |
| 32 | WP356907 Whirlpool Rivet |
| 35 | WP3373329 Whirlpool Dishwasher Screw |
| 36 | Panel, R. H. (Golden Harvest) |
| 36 | Panel, R. H. (Almond) |
| 36 | Panel, R. H. (White) |
| 37 | Panel, L. H. (For Golden Harvest Model) |
| 37 | Panel, L. H. (Almond) |
| 37 | Panel, L. H. (White) |
| 38 | WP387371 Whirlpool Plug |
| 39 | Pin, Locator (2) |