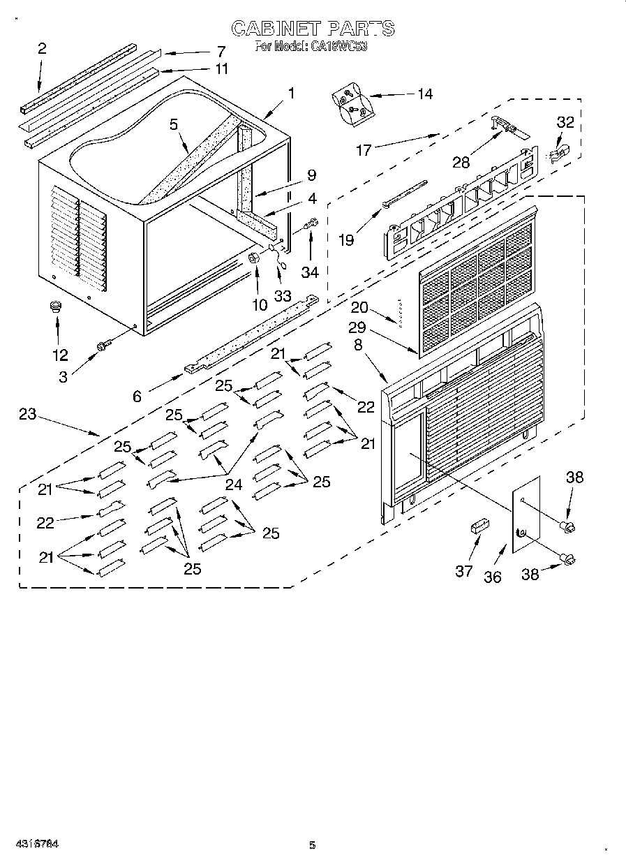
CA18WC53 03 – CABINET