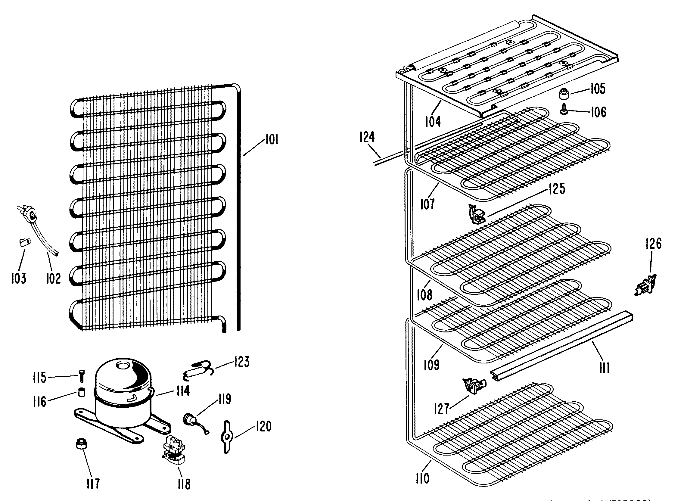
| 101 | WR84X5007 GE Refrigerator Condenser |
| 102 | WR23X10300 GE Refrigerator Power Cord Assembly |
| 103 | WR1X5278 GE Refrigerator Cable Clamp |
| 104 | GEN WR85X0078 |
| 105 | GROMMET-TOP FRONT |
| 105 | GROMMET-TOP REAR |
| 106 | SCREW-GROMMET |
| 107 | SHELF 1ST |
| 108 | GEN WR85X0150 |
| 109 | GEN WR85X0079 |
| 111 | GEN WR38X5290 |
| 114 | REFRIGERANT 8.5 OZ. |
| 114 | MACHINE HIGH SIDE |
| 115 | GEN WR97X5060 |
| 116 | SLEEVE-SCREW |
| 117 | GROMMET |
| 118 | GEN WR07X5066 |
| 119 | GEN WR08X5122 |
| 120 | GEN WR02X5641 |
| 123 | WR86X25269 GE Refrigerator R134 Dryer |
| 124 | GEN WR86X0068 |
| 125 | SUPPORT-REAR |
| 126 | INSERT LIGHT SHIELD FZ. |
| 127 | GEN 49-6315-1 |
| 127 | SUPPORT-LEFT SIDE |