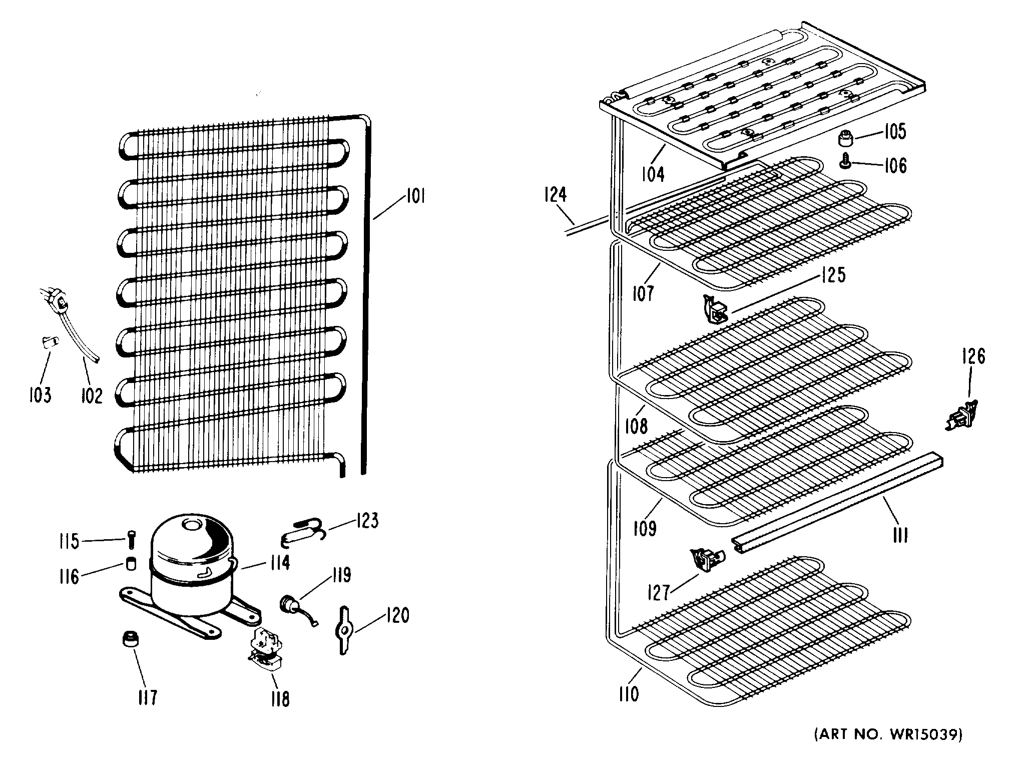
CA21DKC 2