CA2452XTG0 01 – TOP AND CABINET, LIT/OPTIONALadmin2025-04-26T10:52:29+00:00CA2452XTG0 01 – TOP AND CABINET, LIT/OPTIONAL
Products
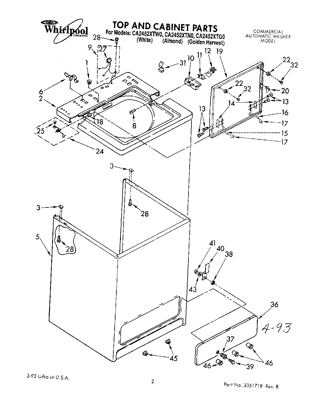
| Position | Product |
|---|
| 350930 Whirlpool White Spray Paint |
| LUBRICANT (USE ONLY IN BRAKE SHOE ASSEMBLY ON ROLLER & PIN) |
| WPL LIT3358980 |
| Shipping Kit |
| Golden Harvest (Uncut) |
| Golden Harvest |
| WPL LIT3351718 |
| 72110 Whirlpool Dryer Touch-Up Paint, Golden Harvest 6 Oz |
| 350572 Whirlpool Oil Transmission 15 Oz |
| WPL LIT3348539 |
| 350938 Whirlpool Spray Gun |
| 350956 Whirlpool Spray Assembly |
| WP285195 Whirlpool Sealer Assembly |
| 72017 Whirlpool Appliance Touch-Up Paint White |
| 799344 Whirlpool Refrigerator Paint |
| WP72107 Whirlpool Touchup |
| Leveler (Thinner) |
| Almond (Uncut) |
| 1 | Nut, Push-In (2) |
| 2 | Top (Almond) |
| 2 | Top (Golden Harvest) |
| 2 | Top (White) |
| 3 | WP62750 Whirlpool Spacer |
| 5 | Cabinet (Golden Harvest) |
| 5 | Cabinet (Almond) |
| 5 | Cabinet (White) |
| 6 | WP62780 Whirlpool Cabinet Clip |
| 8 | Screw & Washer, Lid Switch (2) |
| 10 | WP359231 Whirlpool Shield |
| 11 | W10820036 Whirlpool Door Switch Kit |
| 12 | Actuator, Lid Switch |
| 13 | SCREW |
| 14 | WP21097 Whirlpool Pad |
| 15 | WP54584 Whirlpool Hinge |
| 16 | WP54583 Whirlpool Hinge |
| 17 | Bumper, Lid Hinge |
| 18 | WP21258 Whirlpool Washer Lid Hinge Bearing |
| 19 | Lid (Golden Harvest) |
| 19 | Lid (Almond) |
| 19 | WPW10193854 Whirlpool Lid Assembly |
| 20 | WP358684 Whirlpool Strike Assembly |
| 22 | BUMPER |
| 24 | Spring & Button, Lid ((R.H.)) |
| 24 | Spring & Button, Lid ((L.H.)) |
| 25 | Plug, Button |
| 27 | Harness, Lid Switch |
| 28 | SCREW |
| 31 | WP90016 Whirlpool Clip |
| 32 | WP356907 Whirlpool Rivet |
| 36 | Panel, Service (Golden Harvest) |
| 36 | Panel, Service (White) |
| 36 | Panel, Service (Almond) |
| 37 | Housing, Lock |
| 38 | Clip, Strain Relief |
| 39 | Lock Screw |
| 40 | Cam Lock |
| 41 | Nut, 3/8-16 |
| 43 | Washer, Spring |
| 45 | Spacer (2) |
| 46 | Sleeve (3) |