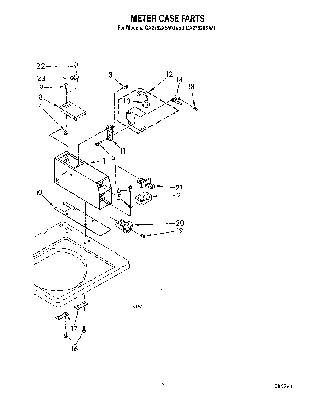
CA2762XSW1 04 – METER CASEadmin2025-04-26T10:54:10+00:00CA2762XSW1 04 – METER CASE ProductsPositionProduct1Meter Case (Golden Harvest)1Meter Case (Almond)1Meter Case (White)2WP385421 Whirlpool Coin Operated Laundry Funnel3339805 Whirlpool Screw4WP90406 Whirlpool Nut5Lockwasher, 5/166Bolt, 5/16-24 x 3/4 (4)8W11283272 Whirlpool Washer Dryer Meter Case Access Door8Door, Service (Golden Harvest)8Door, Service (Almond)9Screw & Washer10WP3954812 Whirlpool Cushion11Bracket, Timer12WP3955668 Whirlpool Timer13Motor, Timer14Clutch, Timer15WP356418 Whirlpool Screw16W10841059 Whirlpool Screw173347825 Whirlpool Plate18Setscrew, 10-32