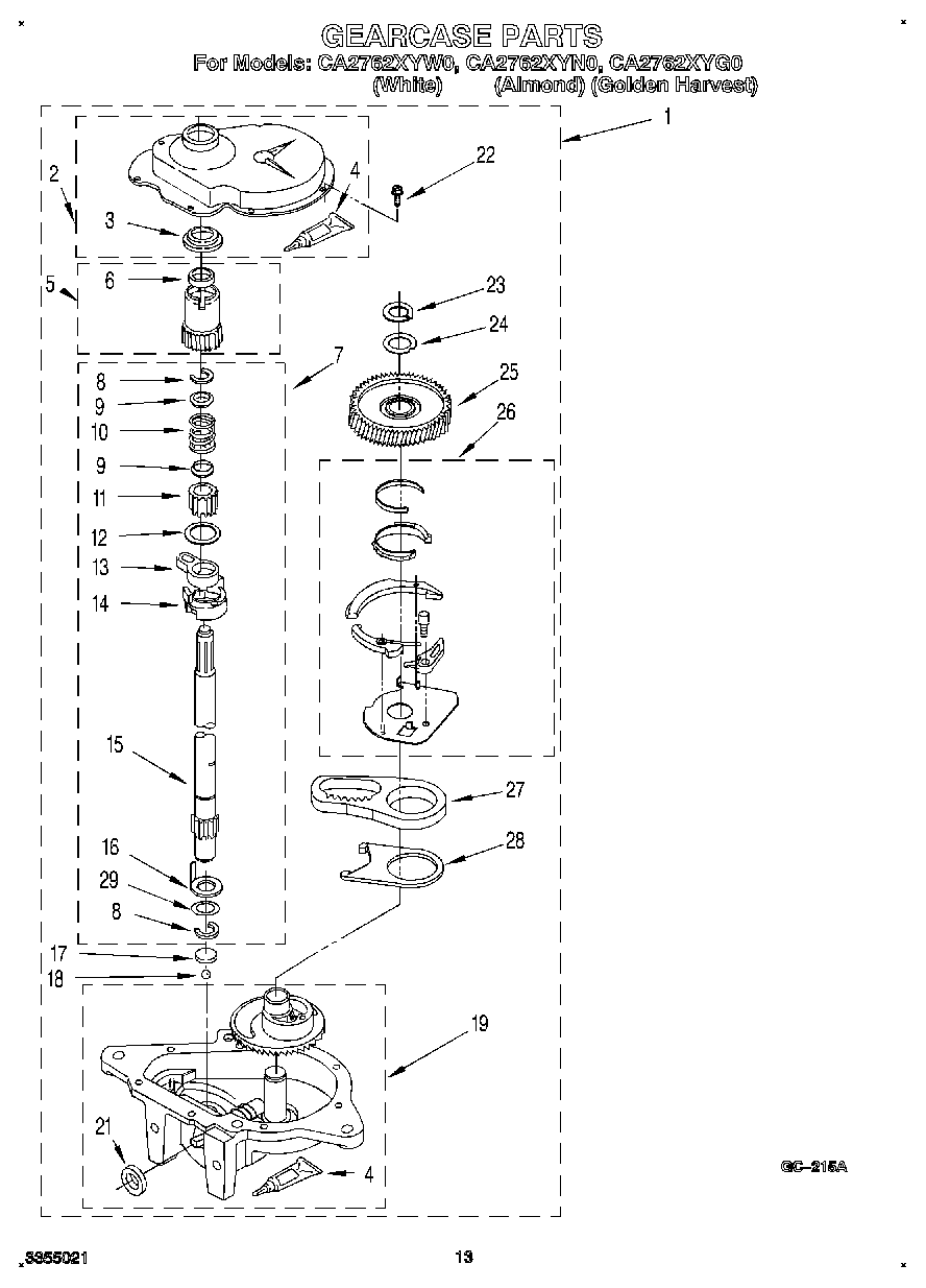
CA2762XYW0 11 – GEARCASE