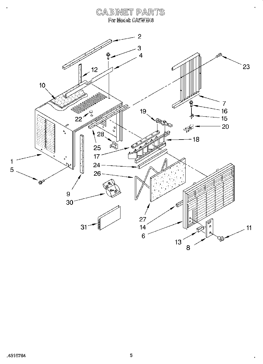
CA5WM46 03 – CABINET