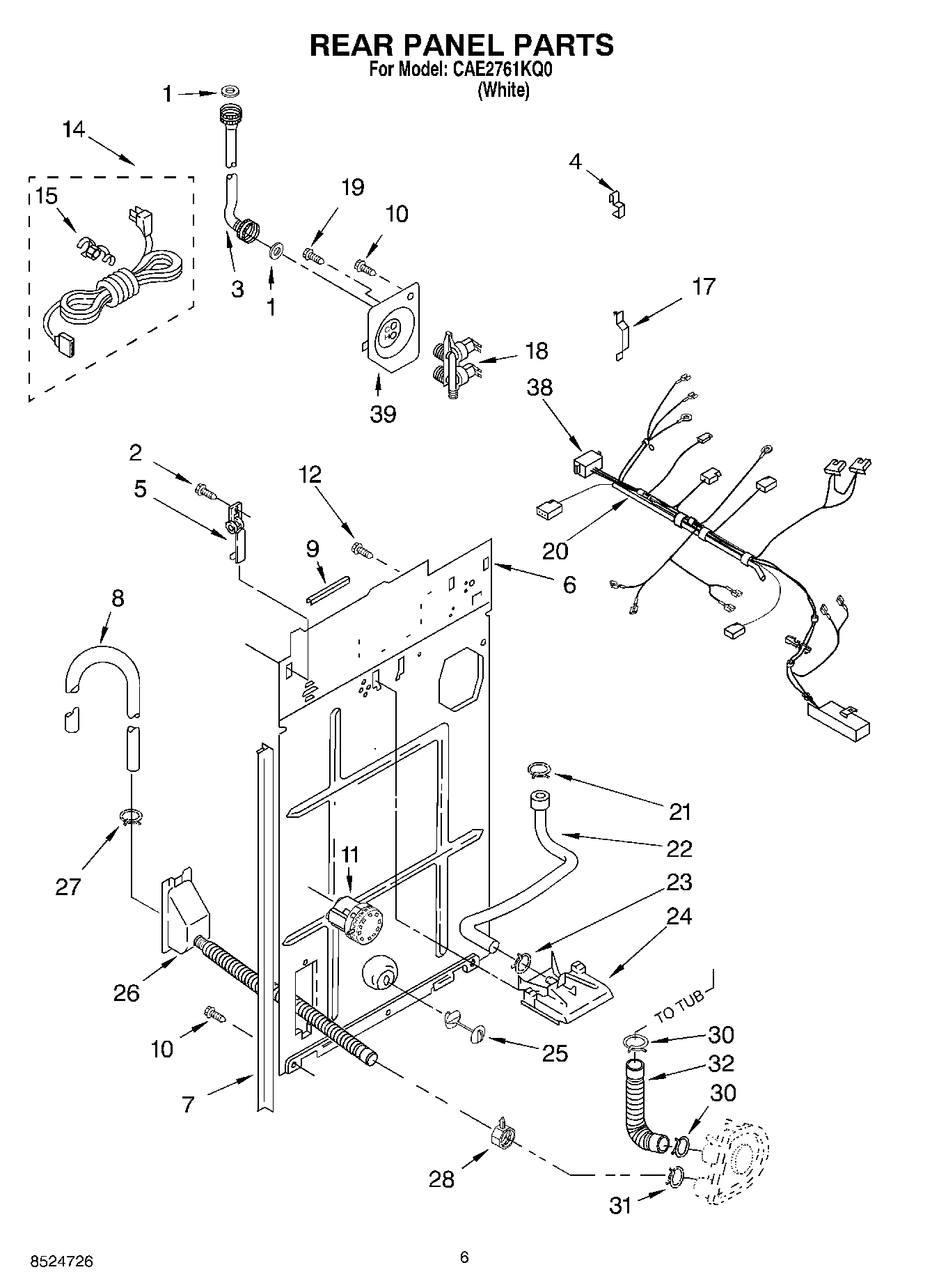
CAE2761KQ0 05 – REAR PANEL