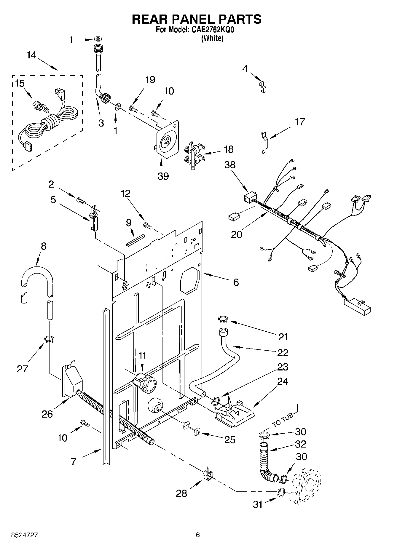
CAE2762KQ0 05 – REAR PANEL