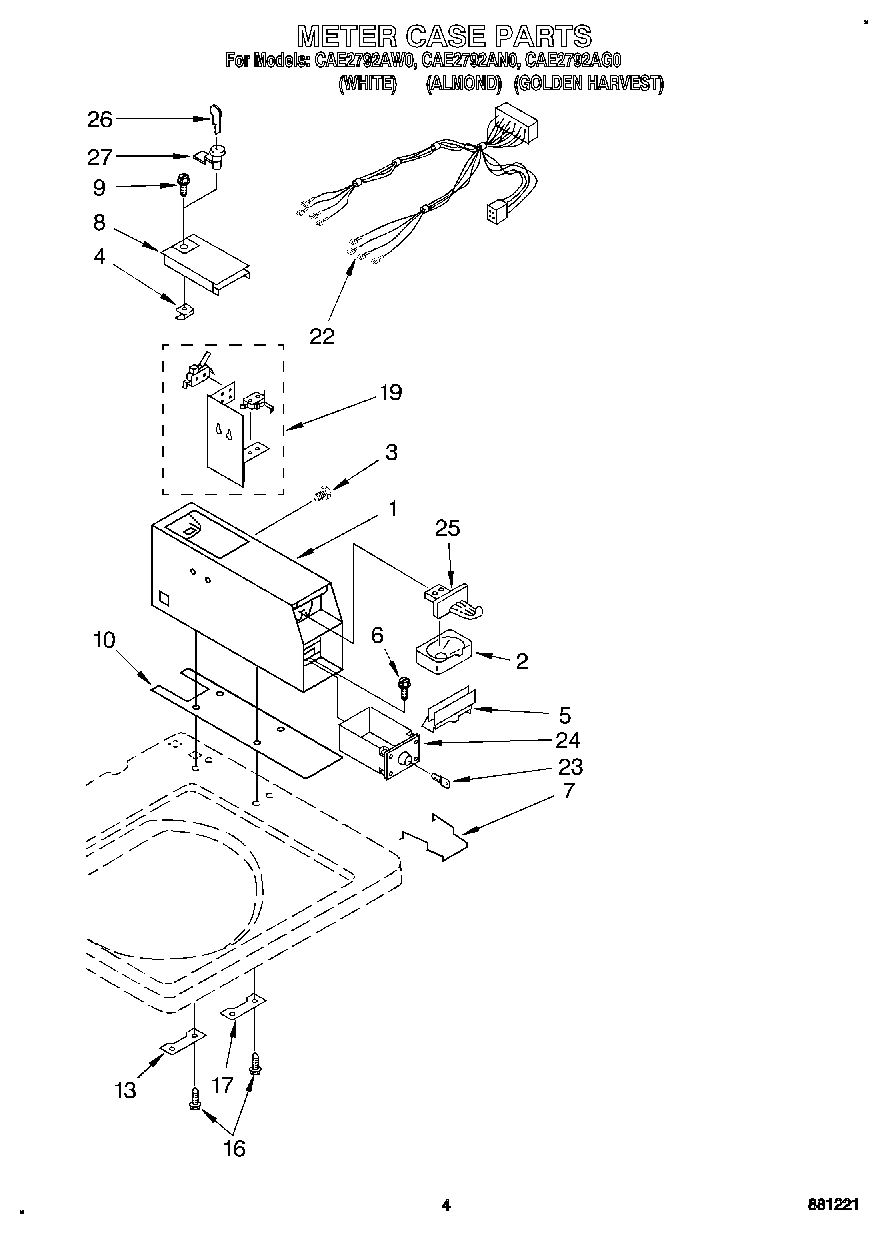
CAE2792AN0 03 – METER CASEadmin2025-04-26T10:54:40+00:00CAE2792AN0 03 – METER CASE ProductsPositionProduct1Meter Case (White)1Meter Case (For Almond Model)1Meter Case (For Golden Harvest Model)2WP385421 Whirlpool Coin Operated Laundry Funnel3339805 Whirlpool Screw4WP90406 Whirlpool Nut5Spacer, Money Vault (For Almond Model)5Spacer (Money Vault) (White)5Spacer, Money Vault (Golden Harvest)63353994 Whirlpool Screw Assembly6W11715721 Whirlpool Screw Assembly7Guide, Drawer8Door, Service (New Gold)8Door, Service (For Almond Model)8W11283272 Whirlpool Washer Dryer Meter Case Access Door9Screw & Washer10WP3954812 Whirlpool Cushion13Plate, Mounting16W10841059 Whirlpool Screw173347825 Whirlpool Plate19Switch, Asy. Accountability22Harness, Door & Vault Switch