CAH8WB42 05 – INSTALLATIONadmin2025-04-26T12:08:26+00:00CAH8WB42 05 – INSTALLATION
Products
| Position | Product |
|---|
| Instructions, Installation (Outside Sill Kit) |
| Instructions, Installation |
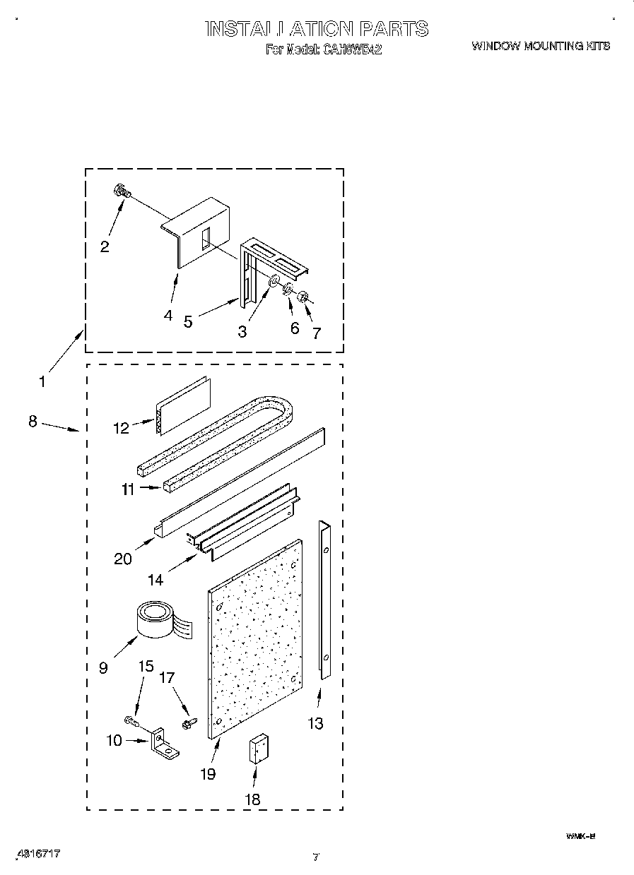
| 1 | Kit, Outside Sill Bracket |
| 2 | Bolt, 1/4 x 3/4 (6) |
| 3 | WP120393 Whirlpool Washer Assembly |
| 4 | Bracket, Sill Mounting (2) |
| 5 | Bracket, Rail Support (2) |
| 6 | Lockwasher (6) |
| 7 | Nut, 1/4-20 (6) |
| 8 | Kit, Standard Installation |
| 9 | Strip, Seal |
| 10 | Bracket |
| 11 | Seal, Meeting Rail |
| 12 | 212643 Whirlpool Refrigerator Permagum Sealer |
| 13 | Angle (2) |
| 14 | Bracket, R.S. |
| 14 | Bracket, L.S. |
| 15 | Screw, Wood |
| 17 | WP965173 Whirlpool Dishwasher Screw |
| 18 | Spacer, Block (4) |
| 19 | Board, Filler |
| 20 | Angle, Top |
| 20 | Kit, Wide Window |
| 20 | Curtain Kit, Standard Mounting |