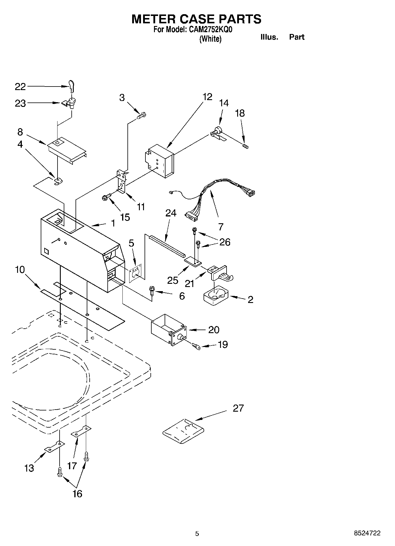
CAM2752KQ0 04 – METER CASE