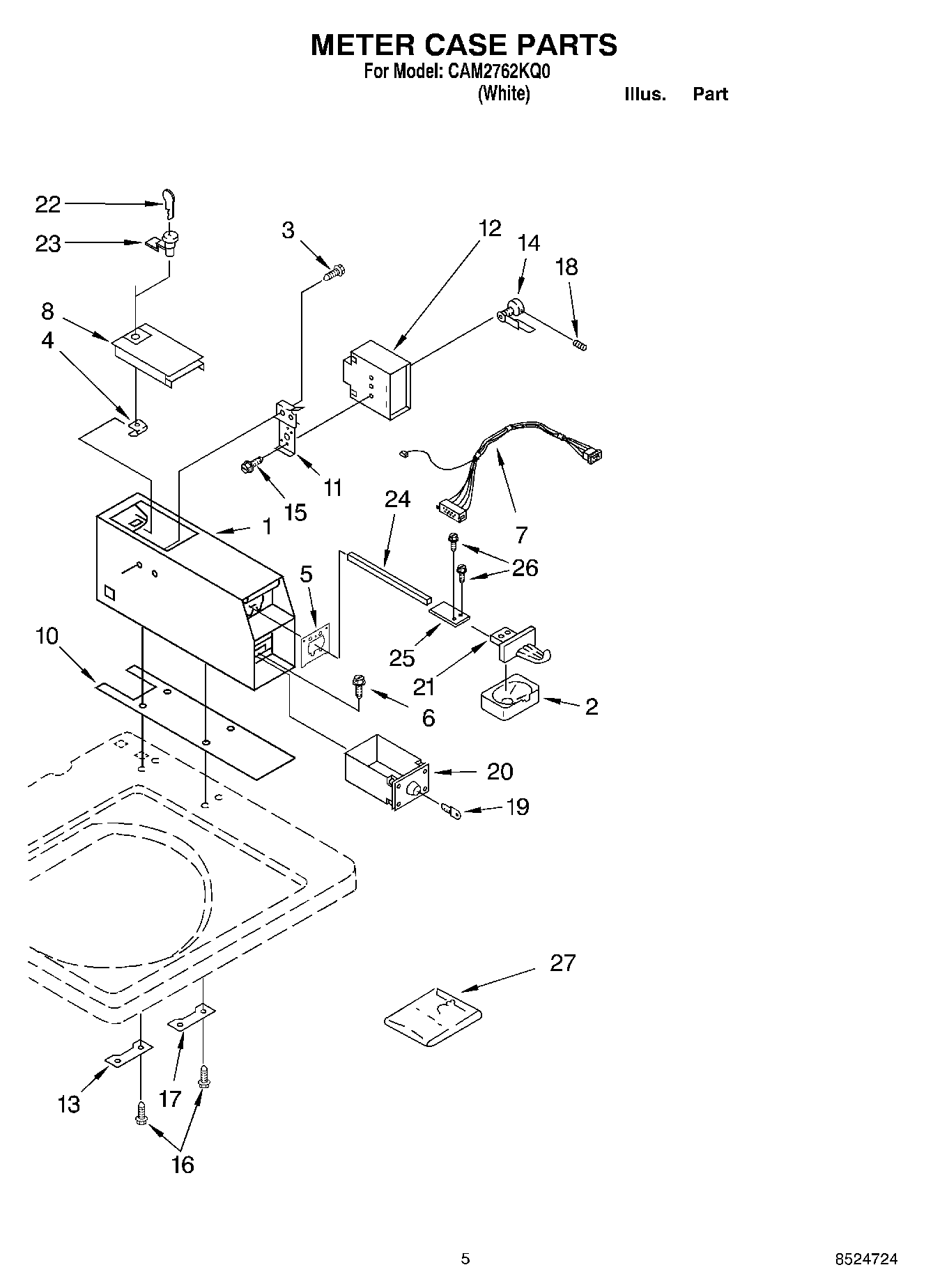
CAM2762KQ0 04 – METER CASEadmin2025-04-26T10:55:48+00:00CAM2762KQ0 04 – METER CASE ProductsPositionProduct1WPW10461200 Whirlpool Case2WP385421 Whirlpool Coin Operated Laundry Funnel3339805 Whirlpool Screw4WP90406 Whirlpool Nut5279950 Whirlpool Funnel6W11715721 Whirlpool Screw Assembly63353994 Whirlpool Screw Assembly73954764 Whirlpool Wire Harness8W11283272 Whirlpool Washer Dryer Meter Case Access Door10WP3954812 Whirlpool Cushion11Bracket, Timer12WP8575004 Whirlpool Timer13Plate, Mounting14Clutch, Timer14WP354987 Whirlpool C-Clip15WP3400064 Whirlpool Screw16W10841059 Whirlpool Screw173347825 Whirlpool Plate18Setscrew, 10-3219Key, Money Box (Specify Vendor of Money Box When Ordering)20W11190039 Whirlpool Coin Box Assembly21W11126319 Whirlpool Washer Dryer Coin Chute21Inserts (Not Shown21WPL 831626522Fascia, Disp (Black)23W11315637 Whirlpool Lock Assembly24WP8576635 Whirlpool Bolt25W11318367 Whirlpool Extension26WPL 340008627WPL 8316524