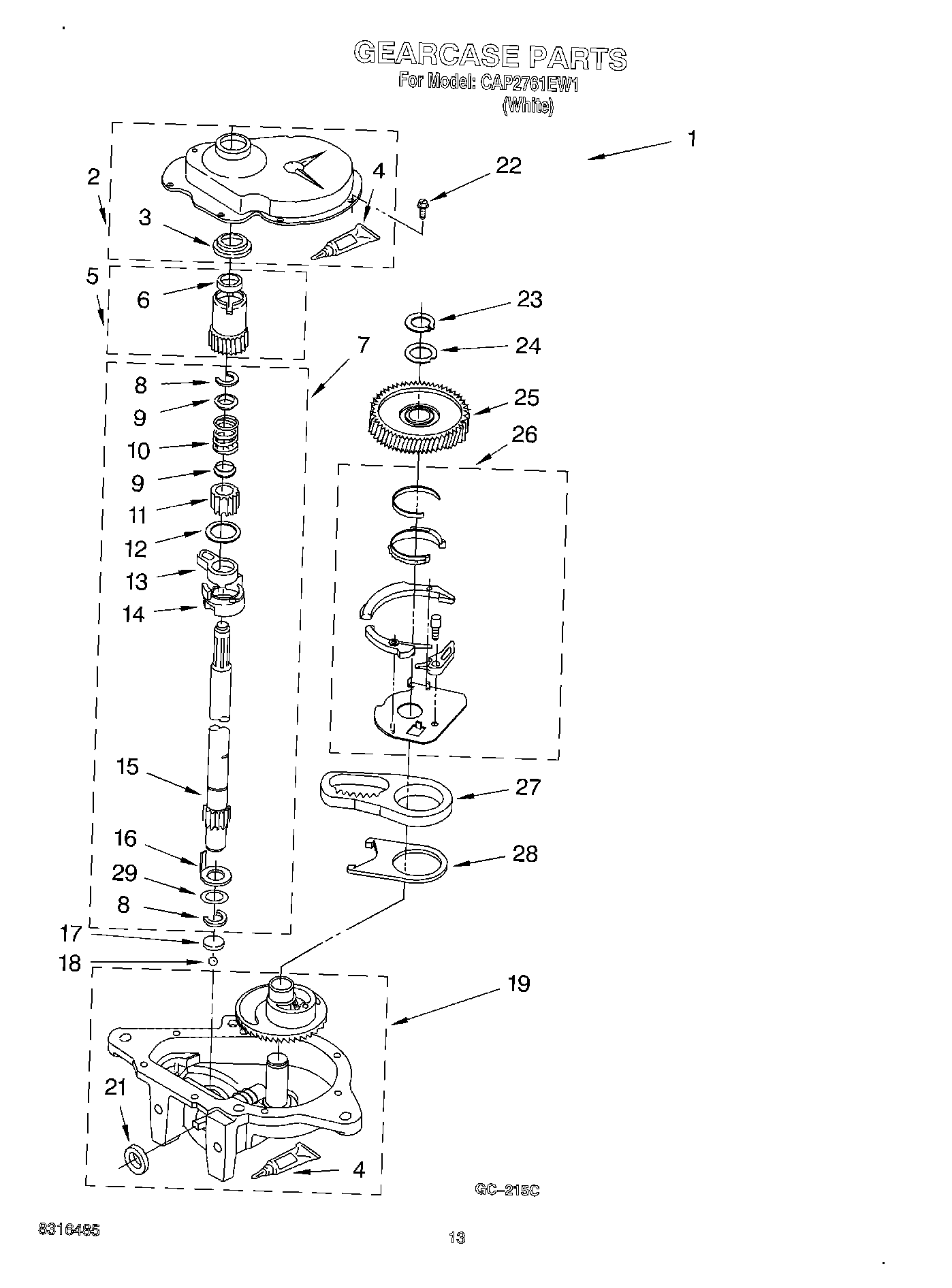
CAP2761EW1 09 – GEARCASE