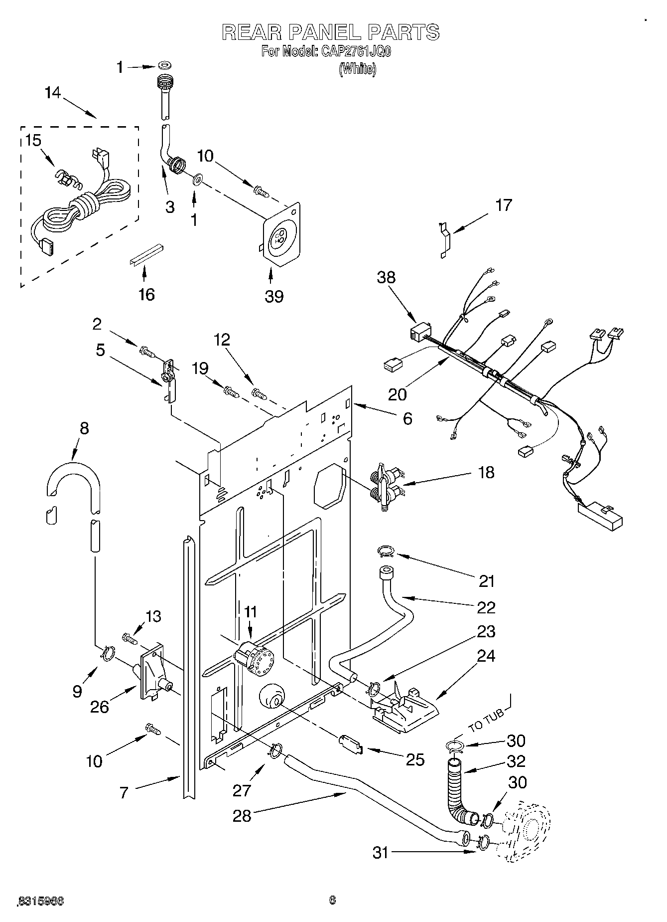
CAP2761JQ0 05 – REAR PANEL