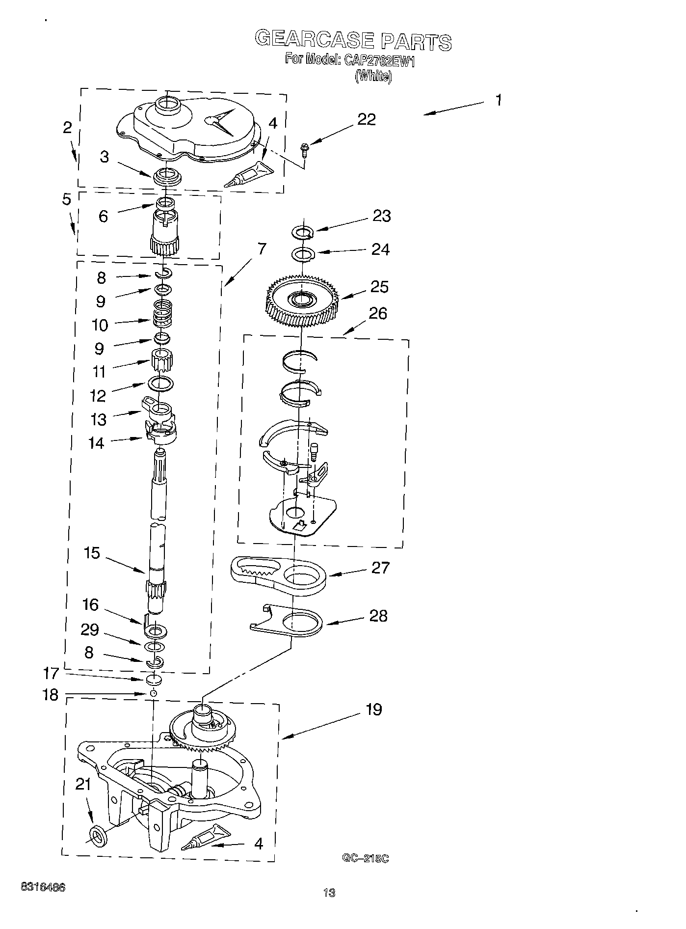
CAP2762EW1 09 – GEARCASE