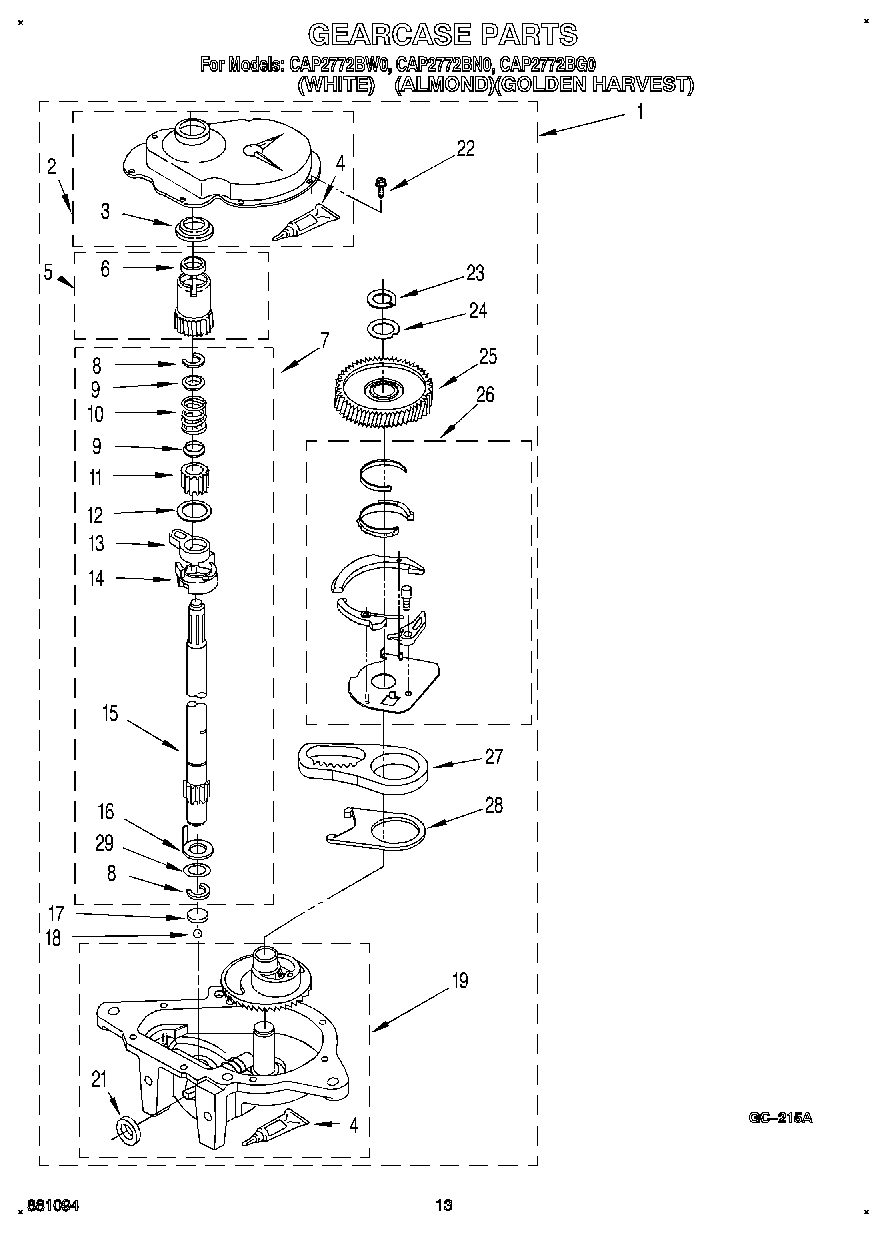
CAP2772BG0 11 – GEARCASE