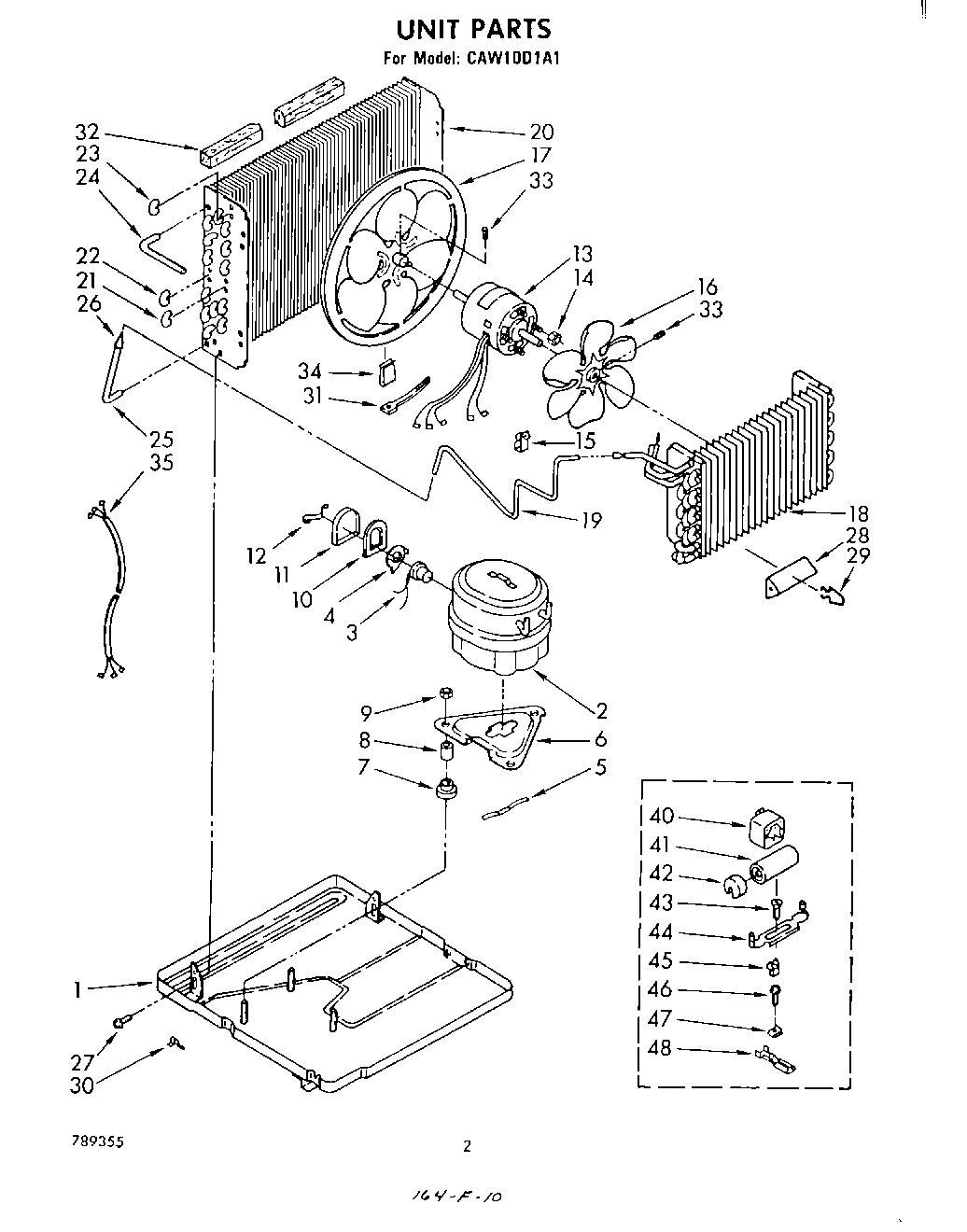
| 1 | Base |
| 2 | Compressor |
| 3 | WP1161170 Whirlpool Air Conditioner Overload |
| 4 | Spring, Overload |
| 5 | Spring, Clip |
| 6 | Plate, Compressor |
| 7 | Grommet, Compressor (3) |
| 8 | Sleeve, Compressor (3) |
| 9 | Locknut (3) |
| 10 | Gasket, Terminal Cover |
| 11 | Cover, Terminal |
| 12 | Retainer, Terminal Cover |
| 13 | Motor, Fan |
| 14 | WP488130 Whirlpool Air Conditioner Nut |
| 15 | Clamp, Wiring |
| 16 | Blade, Fan (Evaporator) |
| 17 | Blade, Fan (Condenser) |
| 18 | Evaporator |
| 19 | Tube, Restrictor |
| 20 | Condenser |
| 21 | Bend, Return Evaporator (4) |
| 22 | Bend, Return Evaporator (11) |
| 23 | Return Bend (2) |
| 24 | Tube, 90~ Connect |
| 25 | Tube & Strainer (Includes Item 23) |
| 26 | Strainer |
| 27 | WP489069 Whirlpool Compactor Screw |
| 28 | Anticipator, Temperature |
| 29 | Clip, Anticipator |
| 30 | Clamp, Tube (2) |
| 31 | WPW10339879 Whirlpool Wire Tie |
| 32 | Seal, Condenser Top |
| 33 | Setscrew, 5/16 x 1/4 |
| 34 | Clip, Balancing |
| 35 | Harness, Wiring |
| 40 | Relay, Start |
| 42 | Capacitor, Start |
| 43 | Cap, Capacitor (Component Of Start Kit) |
| 43 | Screw, 10 x 5/8 (Component Of Start Kit) |
| 44 | Bracket, Capacitor (Component Of Start Kit) |
| 45 | Multiplier, Terminal (Component Of Start Kit) |
| 46 | WP965173 Whirlpool Dishwasher Screw |
| 47 | 488660 Whirlpool Refrigerator Nut |
| 48 | WP978025 Whirlpool Refrigerator Valve |
| 48 | Hard Start Kit (Use With 484395 Compressor) |
| 48 | 978026 Whirlpool Refrigerator Primary Valve |
| 48 | 978027 Whirlpool Refrigerator Primary Valve |
| 48 | 978030 Whirlpool Refrigerator Valve |
| 48 | VALVE, ACCESS (1/2``) |
| 48 | Oil, Turbine 1 Fl. Oz. |
| 48 | Kit, Evaporator Repair (Aluminum Epoxy) |
| 48 | No Drip Tape (For Sweating Tubes) |
| 48 | 484184 Whirlpool Air Conditioner Winter Cover |
| 48 | WPL 484220 |
| 48 | Clip, Terminal (Component Of Start Kit) |
| 48 | VALVE, ACCESS (5/8``) |