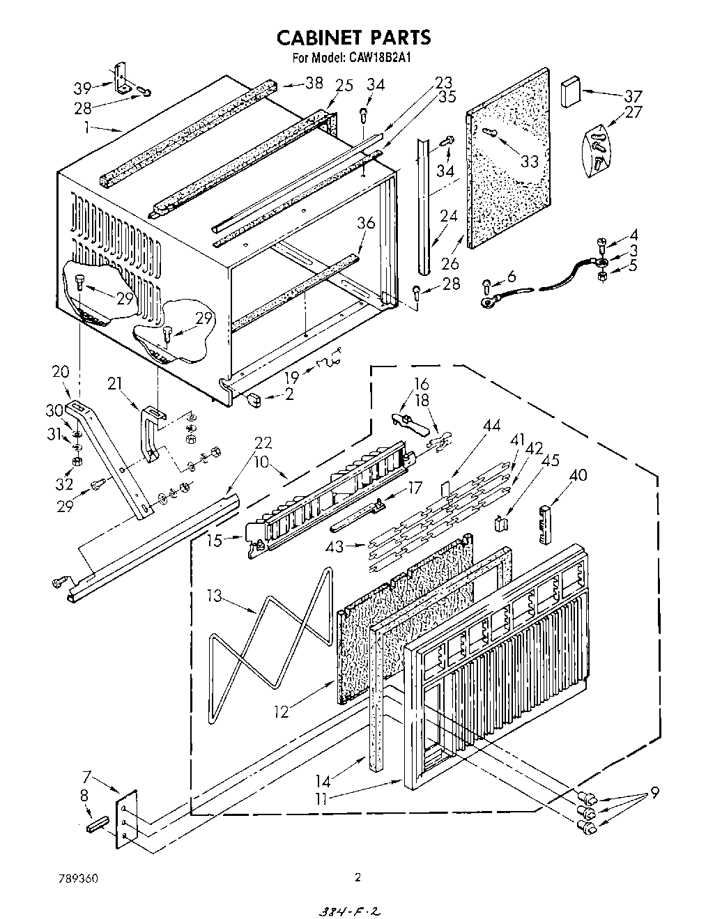
| 1 | Cabinet Also order Insulation NO.1157053 (3) |
| 2 | Grommet, Appliance Cable |
| 3 | Wire, Ground |
| 4 | Screw, 8 x 3/8 |
| 5 | WP486255 Whirlpool Air Conditioner Nut |
| 6 | Screw, 8 x 3/8 |
| 7 | Plate, Escutcheon |
| 8 | Spacer, Escutcheon Plate (2) |
| 9 | Knob, Control (3) |
| 10 | Front, Complete |
| 11 | WPL 953018 |
| 12 | Filter, Air |
| 13 | Retainer, Filter |
| 14 | Seal, Front (Top & Sides) |
| 14 | Seal, Front (Bottom) |
| 15 | WPL 953064 |
| 16 | Handle, Louver (2) |
| 17 | Link, Louver (2) |
| 18 | Detent Spring (2) |
| 19 | Clip, Mtg. (3) |
| 20 | Support, Cabinet (2) |
| 21 | Support, Retainer (2) |
| 22 | Bracket, Support |
| 23 | Angle, Top Mounting |
| 24 | Angle (2) |
| 26 | Board, Filler |
| 27 | Bag, Accessory |
| 28 | Screw (Window Lock Bracket) |
| 29 | Bolt, 1/4 x 3/4 (6) |
| 30 | WP120393 Whirlpool Washer Assembly |
| 31 | Lockwasher (6) |
| 32 | Nut, Hex (6) |
| 33 | WP965173 Whirlpool Dishwasher Screw |
| 34 | WP308685 Whirlpool Microwave Screw |
| 35 | Strip, Seal |
| 36 | Seal, Bottom |
| 37 | Spacer, Block (4) |
| 38 | Gasket, Meeting Rail |
| 39 | Gasket, Sash |
| 40 | Rack, Louver (2) |
| 41 | louver, horizontal (handle) |
| 42 | louver, horizontal (notched) |
| 43 | Louver, Horizontal (4) |
| 44 | Retainer (4) |
| 45 | Clip, Retainer (4) |